Скачать ГОСТ 25809-2019 Смесители и краны водоразборные. Типы и основные размеры

Дата актуализации: 01.06.2025

ГОСТ 25809-2019

Смесители и краны водоразборные. Типы и основные размеры

Обозначение: ГОСТ 25809-2019
Статус:действующий
Название рус.:Смесители и краны водоразборные. Типы и основные размеры
Название англ.:Water supply mixing valves and taps. Types and principal dimensions
Дата актуализации текста:01.01.2024
Дата актуализации описания:01.07.2023
Дата регистрации:30.04.2019
Дата издания:19.12.2019
Дата введения:01.06.2020
Взамен:ГОСТ 25809-96
Нормативные ссылки:ГОСТ 8870;ГОСТ 19681
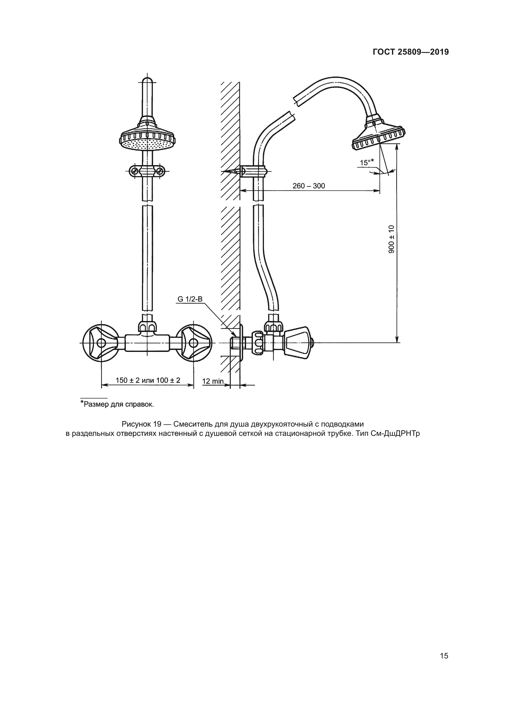
Область применения:Настоящий стандарт распространяется на водоразборные смесители и краны для умывальников, рукомойников, моек, раковин, ванн, душа, бидэ, предназначенные для подачи и смешения холодной и горячей (температурой до 75°С) воды, поступающей из централизованных или местных систем холодного и горячего водоснабжения при рабочем давлении от 0,05 до 1,0 МПа. Форма и конструкция корпусов смесителей и кранов, переключателей воды, изливов, аэраторов, душевых трубок, шлангов, душевых сеток, щеток, маховичков вентильных головок или рукояток, деталей присоединения смесителей и кранов к сетям холодной и горячей воды, крепления душевых сеток к стене или на корпусе смесителя настоящим стандартом не регламентируются, а определяются рабочими чертежами
Приложение №1:Поправка к ГОСТ 25809-2019
Приложение №2:Поправка к ГОСТ 25809-2019
ГОСТ 25809-2019ГОСТ 25809-2019ГОСТ 25809-2019ГОСТ 25809-2019ГОСТ 25809-2019ГОСТ 25809-2019ГОСТ 25809-2019ГОСТ 25809-2019ГОСТ 25809-2019ГОСТ 25809-2019ГОСТ 25809-2019ГОСТ 25809-2019ГОСТ 25809-2019ГОСТ 25809-2019ГОСТ 25809-2019ГОСТ 25809-2019ГОСТ 25809-2019ГОСТ 25809-2019ГОСТ 25809-2019ГОСТ 25809-2019ГОСТ 25809-2019ГОСТ 25809-2019ГОСТ 25809-2019ГОСТ 25809-2019ГОСТ 25809-2019ГОСТ 25809-2019

Поправка к ГОСТ 25809-2019

Обозначение:Поправка к ГОСТ 25809-2019
Дата введения:10.10.2021


Поправка к ГОСТ 25809-2019

Поправка к ГОСТ 25809-2019

Обозначение:Поправка к ГОСТ 25809-2019
Дата введения:13.07.2023


Поправка к ГОСТ 25809-2019