| Обозначение: |  ГОСТ 7875.0-2018 |
| Статус: | действующий |
| Название рус.: | Изделия огнеупорные. Общие требования к методам определения термической стойкости |
| Название англ.: | Refractory products. Basic requirements for methods of thermal shock resistance determination |
| Дата актуализации текста: | 01.01.2019 |
| Дата актуализации описания: | 01.07.2023 |
| Дата регистрации: | 28.09.2018 |
| Дата издания: | 28.11.2018 |
| Дата введения: | 01.04.2019 |
| Взамен: | ГОСТ 7875.0-94 |
| Нормативные ссылки: | ГОСТ 12.1.019-79; ГОСТ 12.2.007.9-93; ГОСТ 12.4.021-75; ГОСТ 12.4.253-2013;ГОСТ OIML R 76-1-2011; ГОСТ 166-89; ГОСТ 427-75; ГОСТ 8179-98; ГОСТ 24104-2001; ГОСТ Р 53228-2008; ГОСТ Р 12.1.019-2009 |
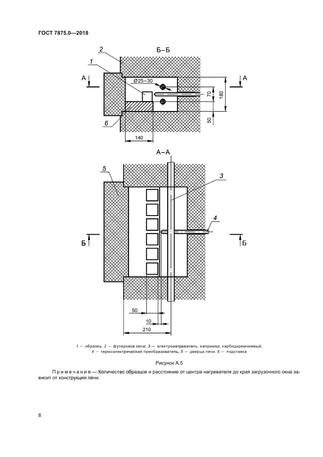
| Область применения: | Настоящий стандарт устанавливает общие требования к методам определения термической стойкости огнеупорных изделий |
|