Скачать ГОСТ 34287-2017 Арматура трубопроводная. Приводы вращательного действия. Присоединительные размерыДата актуализации: 01.06.2025 ГОСТ 34287-2017
Арматура трубопроводная. Приводы вращательного действия. Присоединительные размеры
| Обозначение: |  ГОСТ 34287-2017 |
| Статус: | действующий |
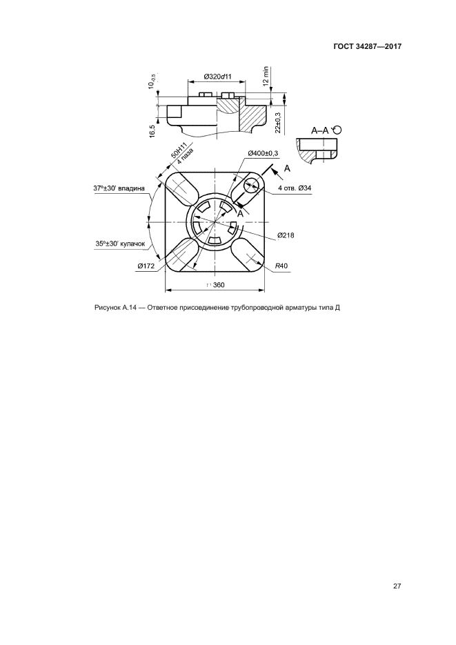
| Название рус.: | Арматура трубопроводная. Приводы вращательного действия. Присоединительные размеры | | Название англ.: | Pipeline valves. Drives of rotary action. Connecting dimensions | | Дата актуализации текста: | 01.01.2021 | | Дата актуализации описания: | 01.07.2023 | | Дата регистрации: | 25.09.2017 | | Дата издания: | 26.11.2018 | | Дата введения: | 01.03.2019 | | Нормативные ссылки: | ГОСТ 6033-80; ГОСТ 22042-76; ГОСТ 24856-2014 | | Область применения: | Настоящий стандарт распространяется на приводы и исполнительные механизмы вращательного действия (многооборотные и неполноповоротные, электрические, пневматические, гидравлические, комбинированные, а также редукторы) для управления трубопроводной арматурой. Настоящий стандарт устанавливает типы присоединений приводов к арматуре, присоединительные размеры приводов и размеры ответных присоединений управляемой ими арматуры, номинальные моменты или осевые усилия на детали соединений, размеры которых установлены в стандарте | |
                             
|