| Обозначение: |  ГОСТ 20527-82 |
| Статус: | действующий |
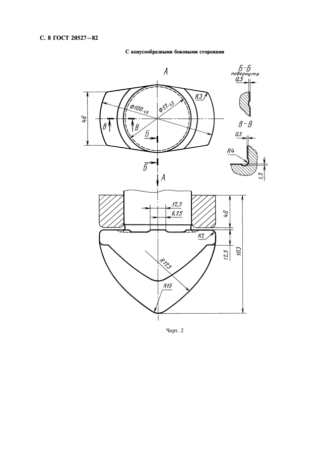
| Название рус.: | Фитинги угловые крупнотоннажных контейнеров. Конструкция и размеры |
| Название англ.: | Angle fittings for gross weignt freigt containers. Desing and dimensions |
| Дата актуализации текста: | 06.04.2015 |
| Дата актуализации описания: | 01.07.2023 |
| Дата издания: | 01.11.2004 |
| Дата введения: | 01.01.1983 |
| Код ОКП: | 317713 |
| Взамен: | ГОСТ 20527-75 |
| Содержит требования: | СТ СЭВ 3343-81 |
| Нормативные ссылки: | ISO 1161:1984; ГОСТ 977-88; ГОСТ 15150-69; ГОСТ 20259-80; ГОСТ 26645-85 |
| Область применения: | Настоящий стандарт распространяется на угловые фитинги крупнотоннажных контейнеров. Стандарт не распространяется на фитинги авиационных контейнеров |
| Список изменений: | №1 от 01.01.1988 (рег. 18.05.1987) «Срок действия продлен» |
|