| Обозначение: |  ГОСТ 25244-82 |
| Статус: | действующий |
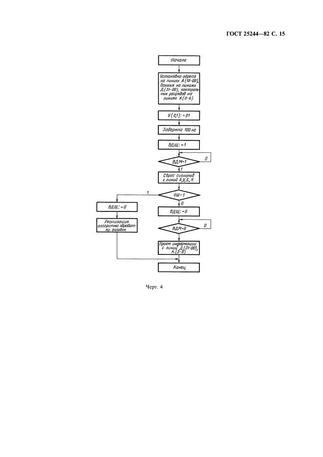
| Название рус.: | Стык управляющего вычислительного комплекса с периферийным оборудованием автоматических телефонных станций. Требования к функционально-временным характеристикам магистрали стыка |
| Название англ.: | Control computing system and automatig telephone stations peripheral equipment joints. Joint main functional-temporal characteristics requirements |
| Дата актуализации текста: | 06.04.2015 |
| Дата актуализации описания: | 01.07.2023 |
| Дата издания: | 01.03.2004 |
| Дата введения: | 01.07.1983 |
| Область применения: | Настоящий стандарт распространяется на магистральный стык между управляющим вычислительным комплексом и устройствами сопряжения телефонного периферийного оборудования автоматических телефонных станций с централизованным и иерархическим управлением |
| Список изменений: | №1 от 01.07.1988 (рег. 22.12.1987) «Срок действия продлен» |
|