| Обозначение: |  ГОСТ 26215-84 |
| Статус: | действующий |
| Название рус.: | Ножовки по дереву. Технические условия |
| Название англ.: | Hand-saws. Specifications |
| Дата актуализации текста: | 06.04.2015 |
| Дата актуализации описания: | 01.07.2023 |
| Дата издания: | 01.12.2003 |
| Дата введения: | 01.07.1985 |
| Код ОКП: | 483322 |
| Нормативные ссылки: | ГОСТ 9.014-78; ГОСТ 9.032-74; ГОСТ 9.104-79; ГОСТ 9.302-88; ГОСТ 9.303-84; ГОСТ 9.306-85; ГОСТ 380-94; ГОСТ 1050-88; ГОСТ 1435-99; ГОСТ 1583-93; ГОСТ 2695-83; ГОСТ 2789-73; ГОСТ 4976-83; ГОСТ 5406-84; ГОСТ 5950-2000; ГОСТ 7016-82; ГОСТ 8486-86; ГОСТ 9013-59; ГОСТ 9378-93; ГОСТ 9825-73; ГОСТ 12034-77; ГОСТ 13837-79; ГОСТ 14959-79; ГОСТ 15150-69; ГОСТ 16338-85; ГОСТ 16588-91; ГОСТ 18088-83; ГОСТ 21996-76; ГОСТ 22975-78; ГОСТ 28804-90 |
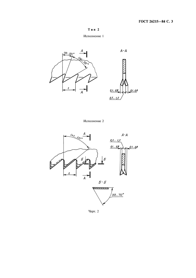
| Область применения: | Настоящий стандарт распространяется на ножовки по дереву, предназначенные для ручной распиловки древесины и древесных материалов при выполнении плотничных и столярных работ |
| Список изменений: | №1 от 01.07.1990 (рег. 30.10.1989) «Срок действия продлен» |
|