| Обозначение: |  ГОСТ 29108-91 |
| Статус: | действующий |
| Название рус.: | Приборы полупроводниковые. Микросхемы интегральные. Часть 3. Аналоговые интегральные схемы |
| Название англ.: | Semiconductor devices. Integrated circuits. Part 3. Analog integrated circuits |
| Дата актуализации текста: | 06.04.2015 |
| Дата актуализации описания: | 01.07.2023 |
| Дата издания: | 01.10.2004 |
| Дата введения: | 01.07.1992 |
| Код ОКП: | 623000 |
| Содержит требования: | IEC 60748-3(1986) |
| Нормативные ссылки: | IEC 60747-1(1983);IEC 60748-1(1984); ГОСТ 29106-91 |
| Область применения: | Настоящий стандарт устанавливает требования для следующих подклассов аналоговых интегральных схем: операционных усилителей (с двумя входами и одним выходом); усилителей низкой частоты, видеоусилителей и многоканальных усилителей для дальней связи; усилителей высокой частоты и усилителей промежуточной частоты; стабилизаторов напряжения и тока; схем переключения аналоговых сигналов. Данный стандарт применяется для разработки технических условий на интегральные микросхемы, в том числе подлежащие сертификации |
| Список изменений: | №1 от 30.09.2003 (рег. 09.04.2003) «Срок действия продлен» |
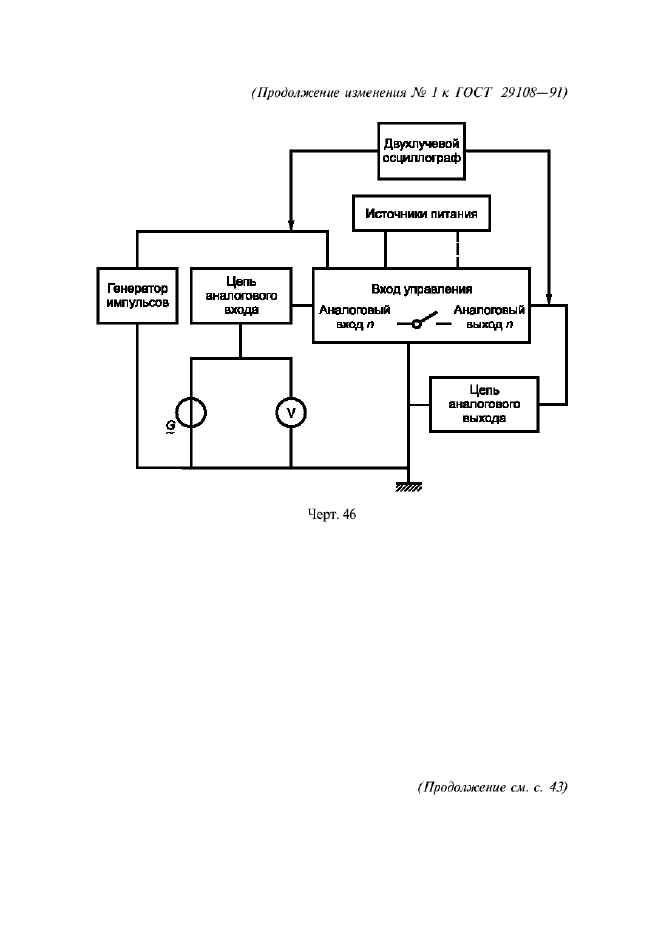
| Приложение №1: | Изменение №1 к ГОСТ 29108-91 |
|