| Обозначение: |  ГОСТ 31610.30-1-2017 |
| Статус: | действующий |
| Название рус.: | Взрывоопасные среды. Часть 30-1. Нагреватели сетевые электрические резистивные. Общие требования и требования к испытаниям |
| Название англ.: | Explosive atmospheres. Part 30-1. Electrical resistance trace heaters. General and testing requirements |
| Дата актуализации текста: | 01.01.2021 |
| Дата актуализации описания: | 01.07.2023 |
| Дата регистрации: | 30.11.2017 |
| Дата издания: | 23.10.2018 |
| Дата введения: | 01.06.2019 |
| Содержит требования: | IEC/IEEE 60079-30-1(2015) |
| Нормативные ссылки: | ГОСТ 31610.0-2014; ГОСТ 31610.7-2012; ГОСТ 31610.30-2;ГОСТ IEC 60079-10-1-2011;ГОСТ IEC 60079-10-2-2011;ГОСТ IEC 60079-14-2013 |
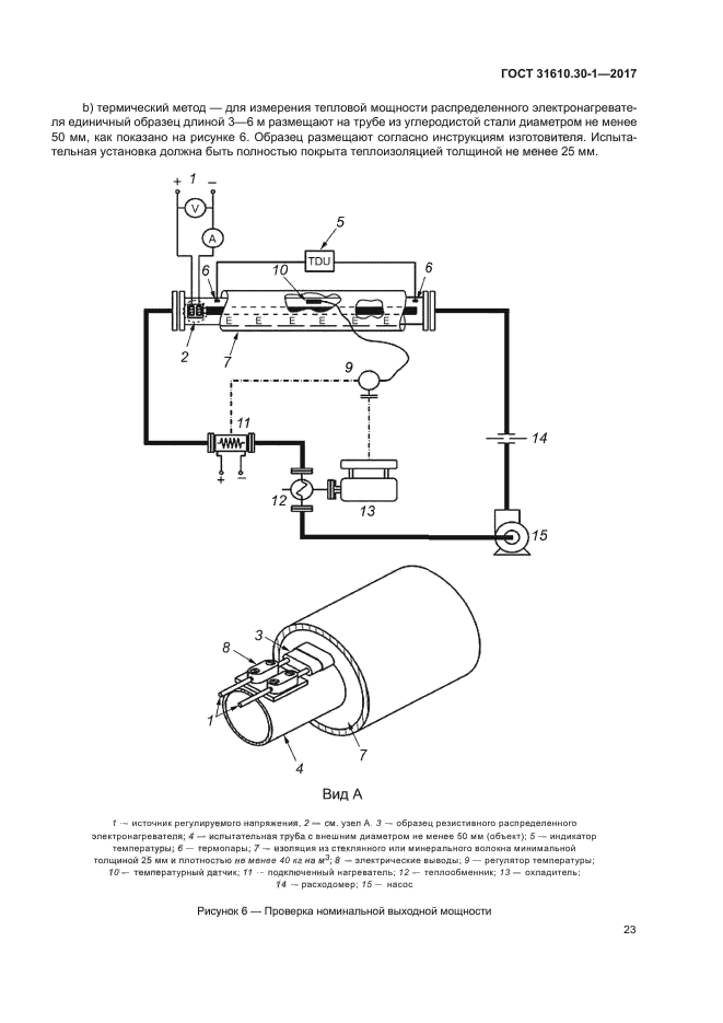
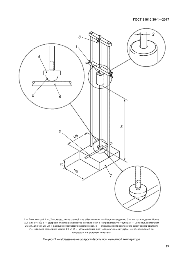
| Область применения: | Настоящий стандарт устанавливает общие технические требования и требования к испытаниям резистивных распределенных электронагревателей, применяемых во взрывоопасных средах, кроме взрывоопасных сред, требующих уровня взрывозащиты оборудования Ga и Da. Настоящий стандарт распространяется на электронагреватели, которые могут включать в себя блоки заводского изготовления или собранные в эксплуатационных условиях, представляющие собой последовательные и параллельные распределенные нагреватели, нагревательные маты и панели, смонтированные и/или заделанные в соответствии с инструкциями изготовителя. Настоящий стандарт также устанавливает требования к концевым заделкам и методам регулирования, используемым с системами распределенного электронагрева. Взрывоопасные зоны, указанные в настоящем стандарте,-это зоны согласно определениям ГОСТ IEC 60079-10-1 и ГОСТ IEC 60079-10-2. Настоящий стандарт дополняет и заменяет общие требования ГОСТ 31610.0, кроме указанных в таблице 1. В том случае, если требования настоящего стандарта вступают в противоречие с требованиями ГОСТ 31610.0, то приоритетными являются требования настоящего стандарта |
| Приложение №1: | Поправка к ГОСТ 31610.30-1-2017 |
| Приложение №2: | Поправка к ГОСТ 31610.30-1-2017 |
|