| Обозначение: |  ГОСТ 8691-2018 |
| Статус: | действующий |
| Название рус.: | Изделия огнеупорные общего назначения. Форма и размеры |
| Название англ.: | Refractory products of general use. Form and size |
| Дата актуализации текста: | 01.01.2026 |
| Дата актуализации описания: | 01.01.2021 |
| Дата регистрации: | 27.06.2018 |
| Дата издания: | 04.10.2018 |
| Дата введения: | 01.02.2019 |
| Взамен: | ГОСТ 8691-73 |
| Нормативные ссылки: | ГОСТ 2.321-84 |
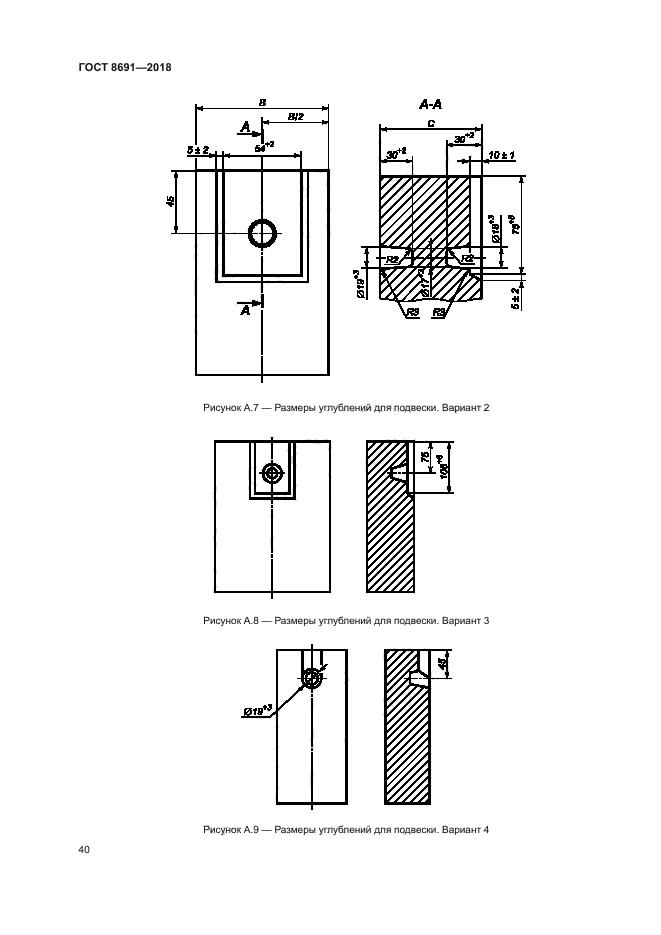
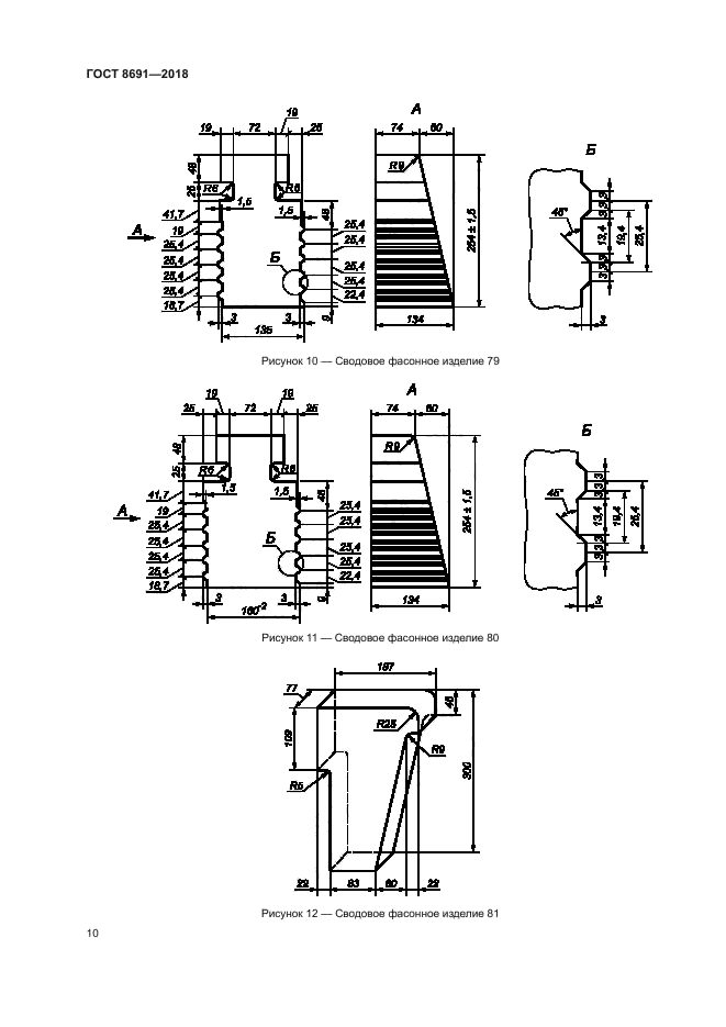
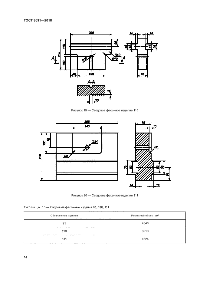
| Область применения: | Настоящий стандарт устанавливает форму и размеры огнеупорных изделий общего назначения, применяемых для футеровки различных тепловых агрегатов |
| Приложение №1: | Поправка к ГОСТ 8691-2018 |
|