| Обозначение: |  ГОСТ 28487-2018 |
| Статус: | действующий |
| Название рус.: | Соединения резьбовые упорные с замковой резьбой элементов бурильных колонн. Общие технические требования |
| Название англ.: | Thread shouldered connections with tool-joint thread of drill string elements. General technical requirements |
| Дата актуализации текста: | 01.06.2022 |
| Дата актуализации описания: | 01.06.2025 |
| Дата регистрации: | 30.04.2019 |
| Дата издания: | 02.10.2018 |
| Дата введения: | 01.01.2020 |
| Взамен: | ГОСТ 28487-90 |
| Нормативные ссылки: | ГОСТ 9.301; ГОСТ 8867; ГОСТ 9378; ГОСТ 11708; ГОСТ 34438.2 |
| Область применения: | Настоящий стандарт распространяется на резьбовые упорные соединения с замковой резьбой элементов бурильных колонн и устанавливает требования к основным геометрическим параметрам соединений, качеству поверхности и нанесению покрытий, а также требования к разгрузочным элементам, контрольным меткам, холодному деформационному упрочнению и приработке соединений |
| Приложение №1: | Изменение №1 к ГОСТ 28487-2018 |
| Приложение №2: | Поправка к ГОСТ 28487-2018 |
| Приложение №3: | Поправка к ГОСТ 28487-2018 |
| Приложение №4: | Поправка к ГОСТ 28487-2018 |
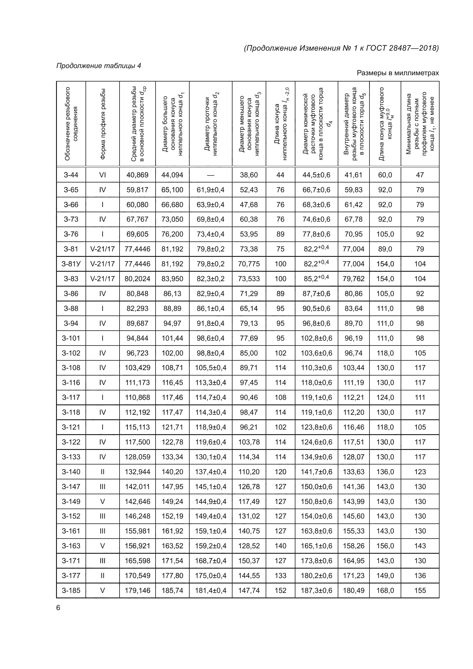
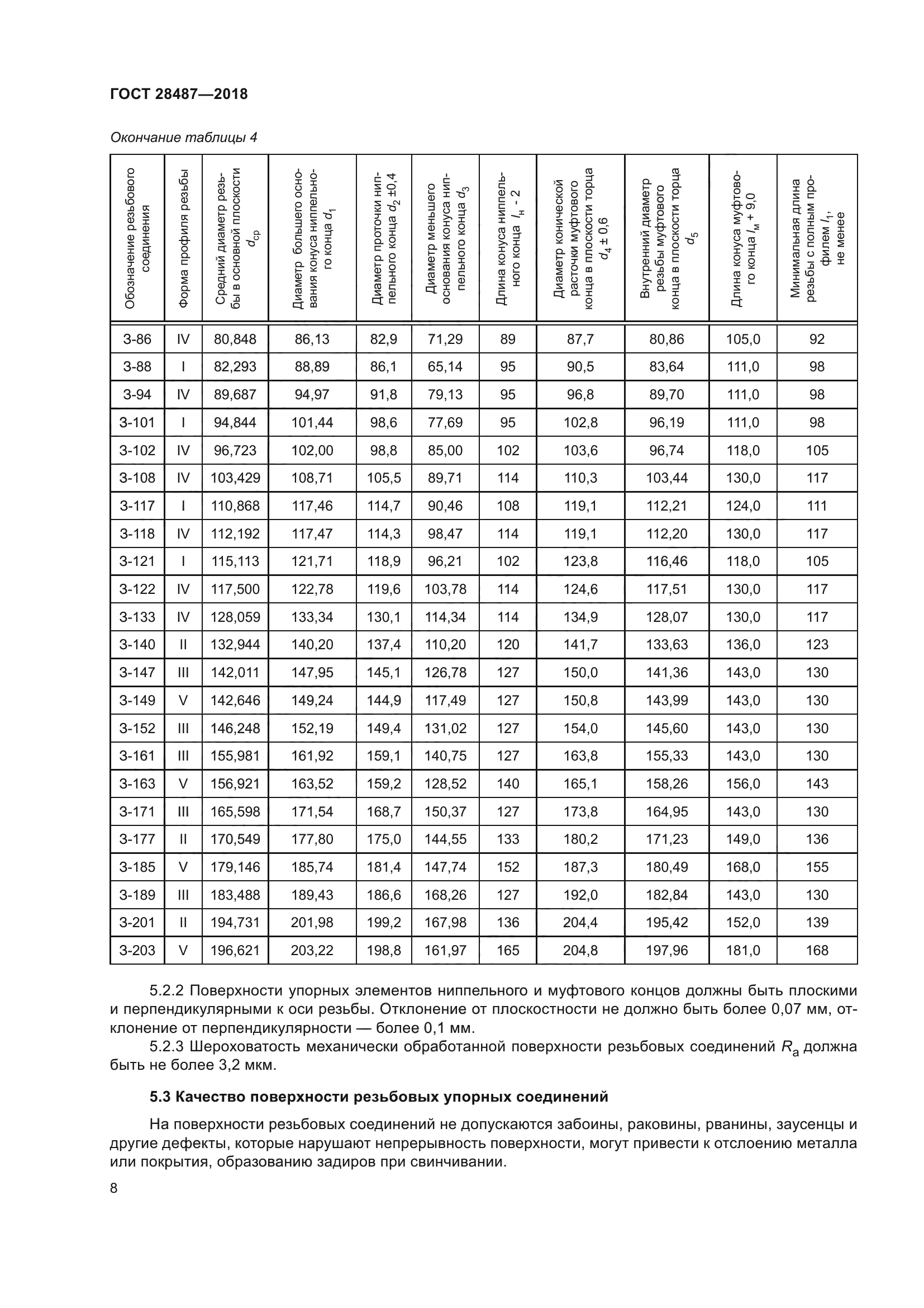
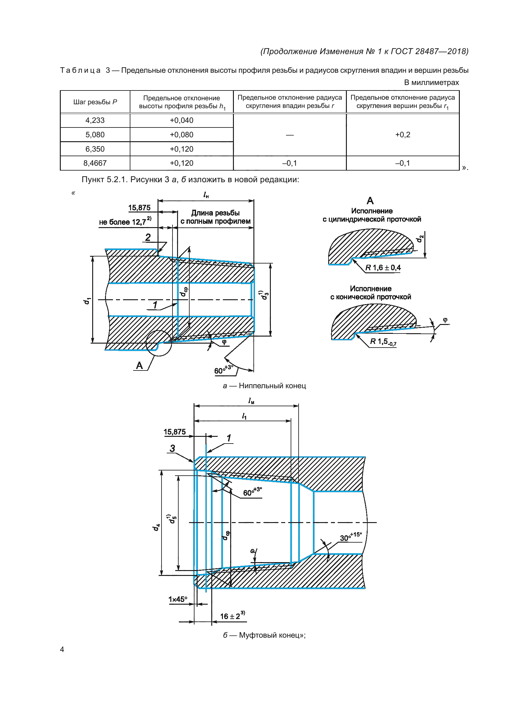
|