Скачать ГОСТ 34057-2017 Соединения резьбовые обсадных, насосно-компрессорных труб, труб для турбопроводов и резьбовые калибры для них. Общие технические требованияДата актуализации: 01.06.2025 ГОСТ 34057-2017
Соединения резьбовые обсадных, насосно-компрессорных труб, труб для турбопроводов и резьбовые калибры для них. Общие технические требования
| Обозначение: |  ГОСТ 34057-2017 |
| Статус: | действующий |
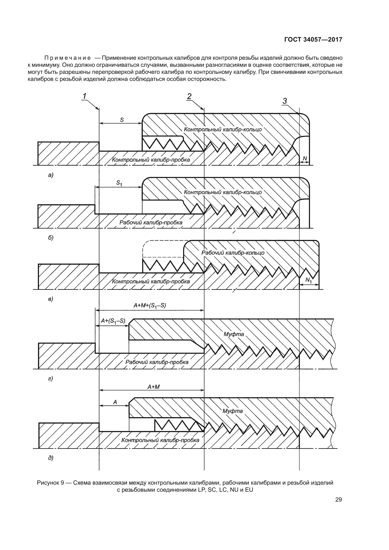
| Название рус.: | Соединения резьбовые обсадных, насосно-компрессорных труб, труб для турбопроводов и резьбовые калибры для них. Общие технические требования | | Название англ.: | Thread connections for casing, tubing, line pipe and thread gauges for them. General technical requirements | | Дата актуализации текста: | 01.01.2024 | | Дата актуализации описания: | 01.01.2024 | | Дата регистрации: | 30.01.2017 | | Дата издания: | 16.03.2018 | | Дата введения: | 01.08.2018 | | Код ОКП: | 132100;132700 | | Нормативные ссылки: | ГОСТ 632-80; ГОСТ 633; ГОСТ 11708; ГОСТ 24672; ГОСТ 31446; ГОСТ 33758 | | Область применения: | Настоящий стандарт распространяется на резьбовые соединения обсадных, насосно-компрессорных труб и труб для трубопроводов, применяемых в нефтяной и газовой промышленности. Настоящий стандарт устанавливает требования к геометрическим параметрам профиля резьбы и резьбовых соединений, а также требования к резьбовым калибрам для контроля резьбы | | Приложение №1: | Изменение №1 к ГОСТ 34057-2017 | | Приложение №2: | Поправка к ГОСТ 34057-2017 | | Приложение №3: | Поправка к ГОСТ 34057-2017 | |
                                                                         
Изменение №1 к ГОСТ 34057-2017
| Обозначение: | Изменение №1 к ГОСТ 34057-2017 |
| Дата введения: | 01.12.2023 |
         
Поправка к ГОСТ 34057-2017
| Обозначение: | Поправка к ГОСТ 34057-2017 |
| Дата введения: | 14.03.2022 |

Поправка к ГОСТ 34057-2017
| Обозначение: | Поправка к ГОСТ 34057-2017 |
| Дата введения: | 01.12.2023 |
|