| Обозначение: |  ГОСТ 30493-2017 |
| Статус: | действующий |
| Название рус.: | Изделия санитарные керамические. Классификация и основные размеры |
| Название англ.: | Ceramic sanitary ware. Types and principal dimensions |
| Дата актуализации текста: | 01.01.2024 |
| Дата актуализации описания: | 01.01.2026 |
| Дата регистрации: | 25.09.2017 |
| Дата издания: | 29.11.2019 |
| Дата введения: | 01.03.2018 |
| Дата окончания срока действия: | 01.06.2026 |
| Взамен: | ГОСТ 30493-96 |
| Заменяющий: | ГОСТ 30493-2025 |
| Нормативные ссылки: | ГОСТ 13449; ГОСТ 15167; ГОСТ 21485 |
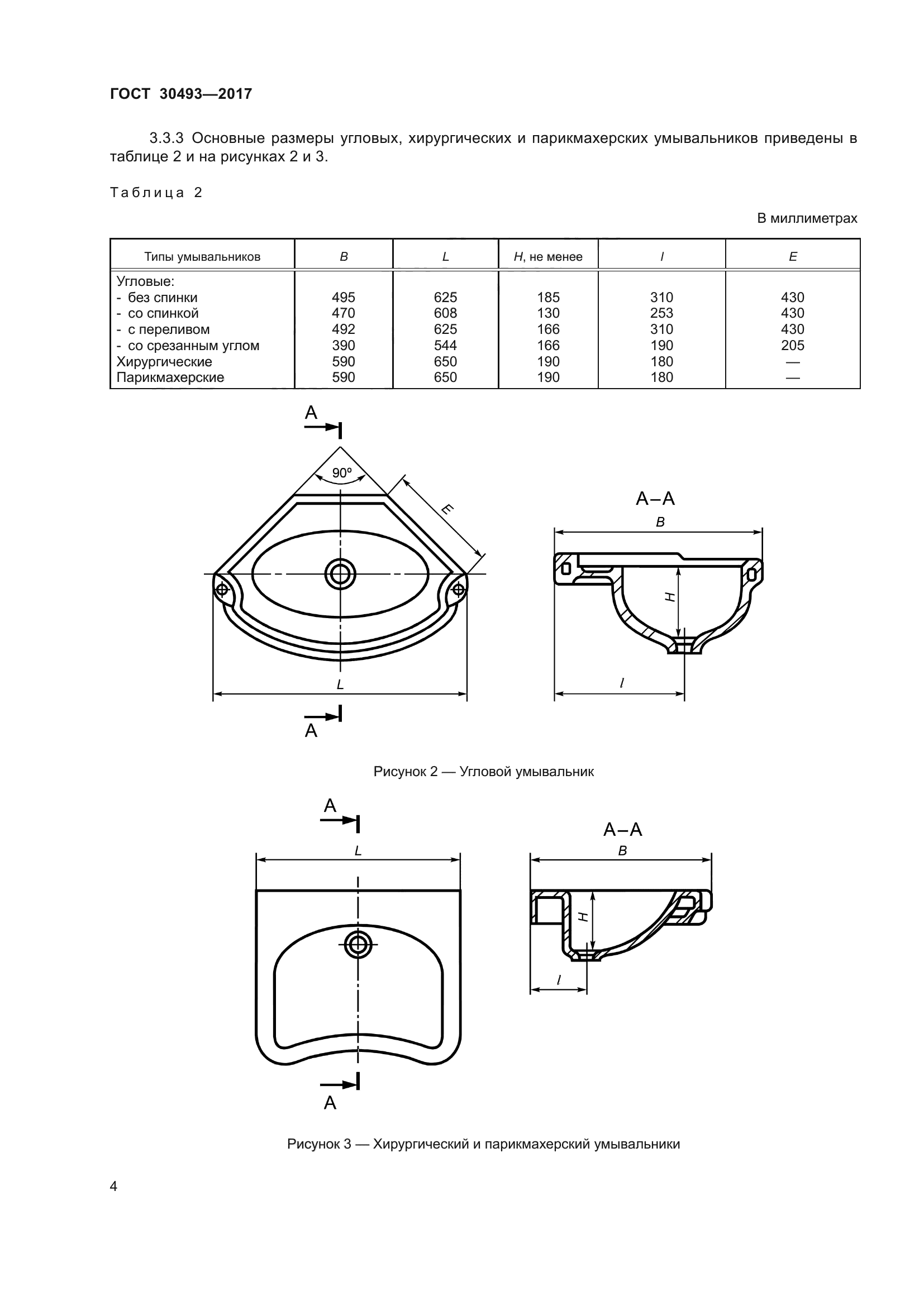
| Область применения: | Керамические санитарные изделия предназначаются для установки в санитарных узлах зданий различного назначения |
| Приложение №1: | Поправка к ГОСТ 30493-2017 |
|