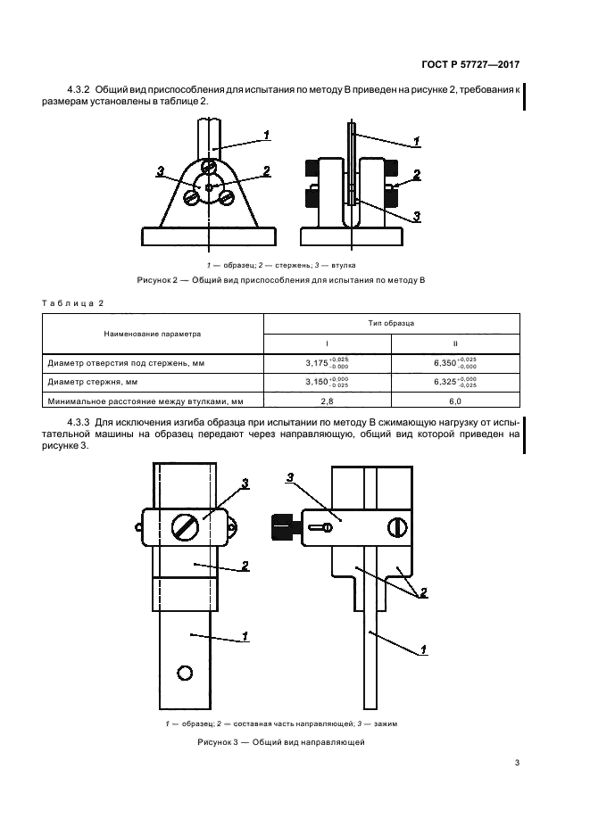
| Обозначение: |  ГОСТ Р 57727-2017 |
| Статус: | действующий |
| Название рус.: | Композиты полимерные. Определение условной прочности на смятие при растяжении или сжатии |
| Название англ.: | Polymer composites. Determination of the nominal bearing strength under tension or compression loading |
| Дата актуализации текста: | 01.01.2021 |
| Дата актуализации описания: | 01.07.2023 |
| Дата издания: | 16.10.2017 |
| Дата введения: | 01.02.2018 |
| Содержит требования: | ASTM D953-10 |
| Нормативные ссылки: | ГОСТ 6507; ГОСТ 12423-2013; ГОСТ 26277; ГОСТ 28840; ГОСТ Р 56813 |
| Область применения: | Настоящий стандарт распространяется на полимерные композиты, а также жесткие пластмассы и устанавливает два метода определения условной прочности на смятие |
|