Скачать ГОСТ Р 57602-2017 Трубы и трубопроводы из реактопластов, армированных волокном. Методы неразрушающего контроля при эксплуатацииДата актуализации: 01.06.2025 ГОСТ Р 57602-2017
Трубы и трубопроводы из реактопластов, армированных волокном. Методы неразрушающего контроля при эксплуатации
| Обозначение: |  ГОСТ Р 57602-2017 |
| Статус: | действующий |
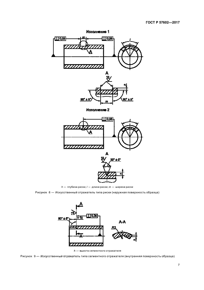
| Название рус.: | Трубы и трубопроводы из реактопластов, армированных волокном. Методы неразрушающего контроля при эксплуатации | | Название англ.: | Fibre reinforced thermosetting plastic pipes and pipelines. Nondestructive testing methods with exploiting | | Дата актуализации текста: | 01.01.2021 | | Дата актуализации описания: | 01.07.2023 | | Дата издания: | 04.09.2017 | | Дата введения: | 01.02.2018 | | Нормативные ссылки: | ГОСТ 8.153; ГОСТ 12.1.001; ГОСТ 12.1.040; ГОСТ 12.2.003; ГОСТ 31581; ГОСТ 32661; ГОСТ Р 54559; ГОСТ Р 54560; ГОСТ Р МЭК 61094-3 | | Область применения: | Настоящий стандарт распространяется на трубы, запорную арматуру, различные переходы, коллекторные узлы, изготовленные из реактопластов, армированных волокном, применяемые в трубопроводах как наземного, так и подземного исполнения. Настоящий стандарт устанавливает метод виброакустического контроля (далее - ВАК) для выявления различных дефектов (в виде нарушения сплошности и однородности материала, наличия трещин, врезок, расслоений), расположенных на наружной и внутренней поверхностях, а также в толще стенок изделий и обнаруживаемых виброакустической аппаратурой. Настоящий стандарт устанавливает метод неразрушающего контроля деформации и/или температуры, и/или обнаружения утечек с помощью волоконной брэгговской решетки (далее - ВБР), или сборок, состоящих из ВБР. Действительные размеры дефектов, их форма и характер настоящим стандартом не устанавливаются. Необходимость проведения ВАК и контроля состояния при использовании ВБР, его объем и нормы допустимых дефектов устанавливают в нормативном документе или технической документации на изделия | |
                 
|