| Обозначение: |  ГОСТ 34075-2017 |
| Статус: | действующий |
| Название рус.: | Башмаки и чеки тормозных колодок железнодорожного подвижного состава. Общие технические условия |
| Название англ.: | Brake block holder and key for railway rolling stock. General specifications |
| Дата актуализации текста: | 01.01.2021 |
| Дата актуализации описания: | 01.07.2023 |
| Дата регистрации: | 30.03.2017 |
| Дата издания: | 30.09.2019 |
| Дата введения: | 01.01.2018 |
| Нормативные ссылки: | ГОСТ 2.601; ГОСТ 8.051; ГОСТ 9.014; ГОСТ 15.309; ГОСТ 27.301; ГОСТ 380; ГОСТ 977; ГОСТ 1050; ГОСТ 3212; ГОСТ 4543; ГОСТ 7505; ГОСТ 8479; ГОСТ 9012; ГОСТ 9013; ГОСТ 14959; ГОСТ 15150; ГОСТ 18321; ГОСТ 19281; ГОСТ 21357; ГОСТ 23170; ГОСТ 28840; ГОСТ 33976 |
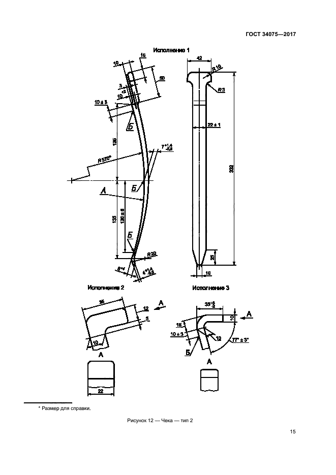
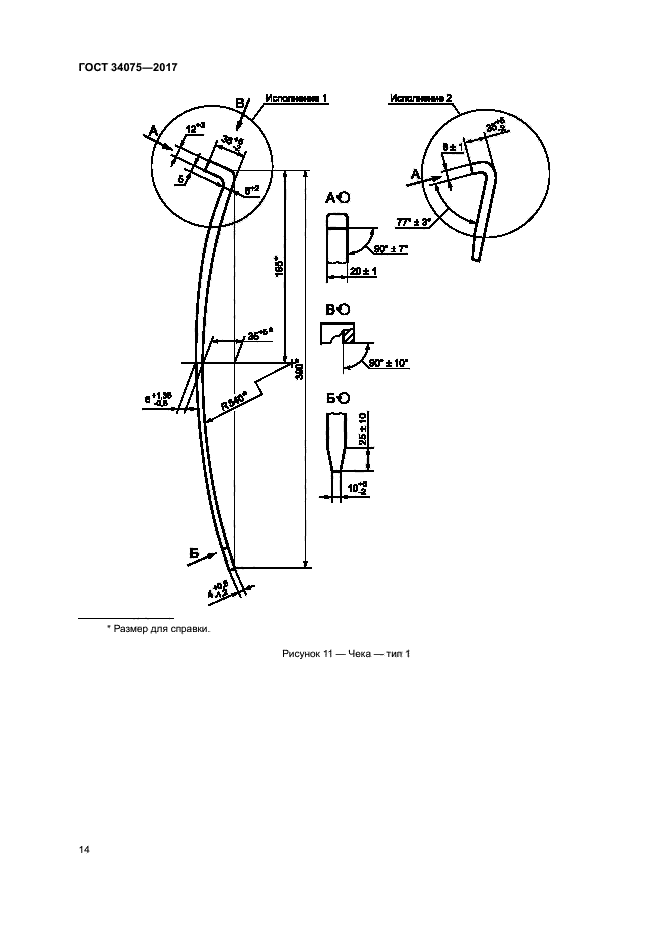
| Область применения: | Настоящий стандарт распространяется на башмаки и чеки тормозных колодок (далее - башмаки, чеки и колодки соответственно) для локомотивов, грузовых вагонов, пассажирских вагонов локомотивной тяги, моторвагонного (далее - МВПС) и специального самоходного и несамоходного подвижного состава (далее - СПС) и устанавливает общие технические условия к ним |
| Приложение №1: | Поправка к ГОСТ 34075-2017 |
|