| Обозначение: |  ГОСТ 25557-2016 |
| Статус: | действующий |
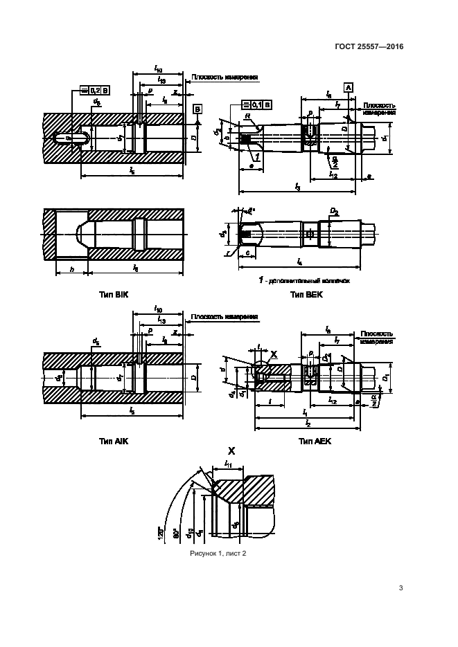
| Название рус.: | Конусы инструментальные. Основные размеры |
| Дата актуализации текста: | 01.01.2021 |
| Дата актуализации описания: | 01.07.2023 |
| Дата регистрации: | 22.11.2016 |
| Дата издания: | 30.07.2020 |
| Дата введения: | 01.01.2018 |
| Код ОКП: | 390000 |
| Взамен: | ГОСТ 25557-2006 |
| Содержит требования: | ISO 296:1991 |
| Нормативные ссылки: | ГОСТ 2848; ГОСТ 14034 |
| Область применения: | Настоящий стандарт распространяется на инструментальные метрические конусы и конусы Морзе и устанавливает размеры наружных и внутренних инструментальных конусов трех категорий: - общего применения; - малые; - большие |
|