| Обозначение: |  ГОСТ 21.504-2016 |
| Статус: | действующий |
| Название рус.: | Система проектной документации для строительства. Правила выполнения рабочей документации деревянных конструкций |
| Название англ.: | System of design documents for construction. Rules for execution of working documentation for wooden structures |
| Дата актуализации текста: | 01.06.2022 |
| Дата актуализации описания: | 01.07.2023 |
| Дата регистрации: | 22.11.2016 |
| Дата издания: | 30.07.2020 |
| Дата введения: | 01.07.2017 |
| Нормативные ссылки: | ГОСТ 2.306; ГОСТ 21.001; ГОСТ 21.101; ГОСТ Р 21.1101-2013; ГОСТ 21.201; ГОСТ 21.502; ГОСТ 2140; ГОСТ 20850; ГОСТ 24404; ГОСТ 33080; ГОСТ 33081 |
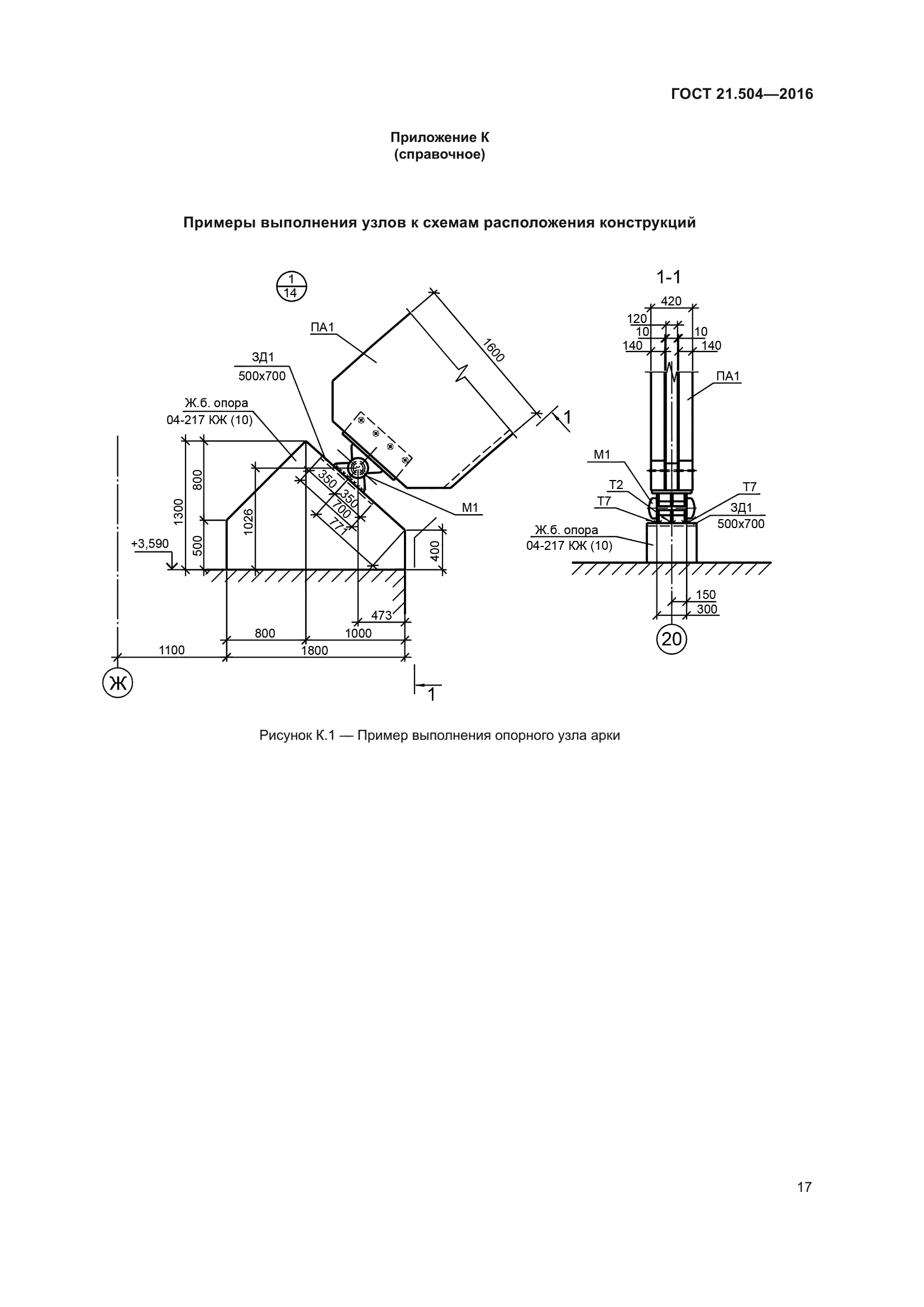
| Область применения: | Настоящий стандарт устанавливает состав, содержание и правила оформления рабочей документации деревянных конструкций зданий и сооружений различного назначения, в том числе при применении типовых деревянных конструкций |
| Приложение №1: | Поправка к ГОСТ 21.504-2016 |
|