| Обозначение: |  ГОСТ 27108-2016 |
| Статус: | действующий |
| Название рус.: | Конструкции каркаса железобетонные сборные для многоэтажных зданий с безбалочными перекрытиями. Технические условия |
| Название англ.: | Reinforced concrete framework structures for multistory industrial buildings with girderless floors. Specifications |
| Дата актуализации текста: | 01.06.2022 |
| Дата актуализации описания: | 01.07.2023 |
| Дата регистрации: | 25.10.2016 |
| Дата издания: | 09.01.2017 |
| Дата введения: | 01.06.2017 |
| Взамен: | ГОСТ 27108-86 |
| Нормативные ссылки: | ГОСТ 5781-82; ГОСТ 6727-80; ГОСТ 8829-94; ГОСТ 10060-2012; ГОСТ 10180-2012; ГОСТ 10181-2014; ГОСТ 10884-94; ГОСТ 10922-2012; ГОСТ 12730.0-78; ГОСТ 12730.5-84; ГОСТ 13015-2012; ГОСТ 15467-79; ГОСТ 16504-81; ГОСТ 17624-2012; ГОСТ 17625-83; ГОСТ 18105-2012; ГОСТ 22362-77; ГОСТ 22690-2015; ГОСТ 22904-93; ГОСТ 23009-20; ГОСТ 23858-79; ГОСТ 24297-2013; ГОСТ 26134-84; ГОСТ 26433.0-85; ГОСТ 26433.1-89; ГОСТ 26633-2012; ГОСТ 27751-2014; ГОСТ 30247.0-94; ГОСТ 30247.1-94;ГОСТ ISO 9000-2011 |
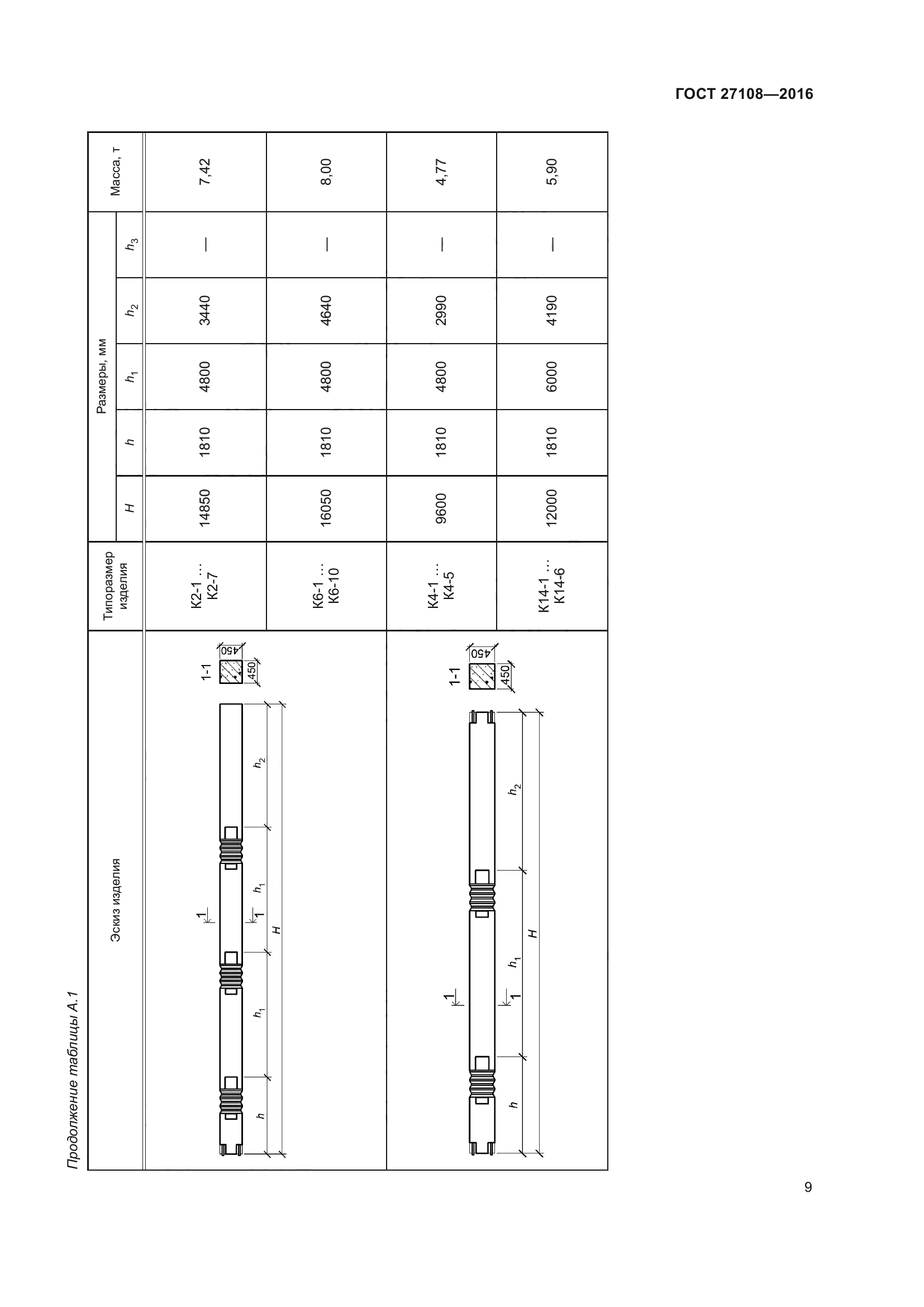
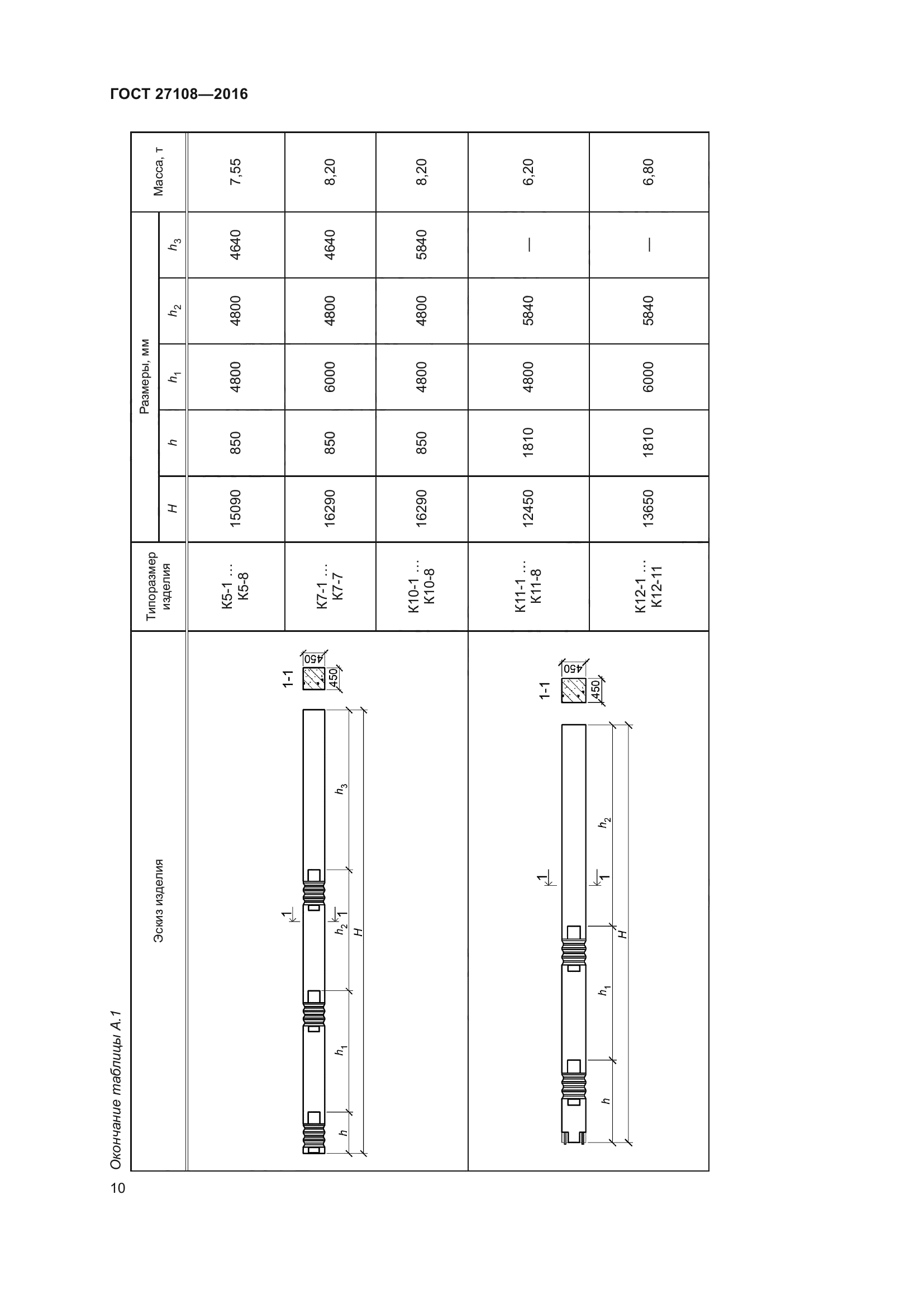
| Область применения: | Настоящий стандарт распространяется на сборные железобетонные конструкции каркаса зданий с безбалочными перекрытиями (далее - конструкции), изготовляемые из тяжелого бетона, для многоэтажных производственных и складских зданий промышленных и сельскохозяйственных предприятий с сетками колонн 6х6м и 9х6м, с высотой этажа 4,8 и 6,0м |
| Приложение №1: | Поправка к ГОСТ 27108-2016 |
| Приложение №2: | Поправка к ГОСТ 27108-2016 |
|