| Обозначение: |  ГОСТ 28737-2016 |
| Статус: | заменён |
| Название рус.: | Балки фундаментные железобетонные для стен зданий промышленных и сельскохозяйственных предприятий. Технические условия |
| Название англ.: | Reinforced concrete foundation beams for buildings walls of industrial and agricultural enterprises. Specifications |
| Дата актуализации текста: | 01.01.2026 |
| Дата актуализации описания: | 01.01.2026 |
| Дата регистрации: | 25.10.2016 |
| Дата издания: | 06.12.2019 |
| Дата введения: | 01.06.2017 |
| Дата окончания срока действия: | 01.01.2026 |
| Взамен: | ГОСТ 28737-90 |
| Заменяющий: | ГОСТ 28737-2025 |
| Нормативные ссылки: | ГОСТ 5781; ГОСТ 6727; ГОСТ 8829; ГОСТ 10060; ГОСТ 10180; ГОСТ 10181; ГОСТ 10922; ГОСТ 12730.0; ГОСТ 12730.5; ГОСТ 130152; ГОСТ 15467; ГОСТ 16504; ГОСТ 17624; ГОСТ 17625; ГОСТ 18105; ГОСТ 22362; ГОСТ 22690; ГОСТ 22904; ГОСТ 23009; ГОСТ 23858; ГОСТ 24297; ГОСТ 26134; ГОСТ 26433.0; ГОСТ 26433.1; ГОСТ 26633; ГОСТ 27751; ГОСТ 30247.0; ГОСТ 30247.1; ГОСТ 34028;ГОСТ ISO 9000; ГОСТ Р 57997-2017 |
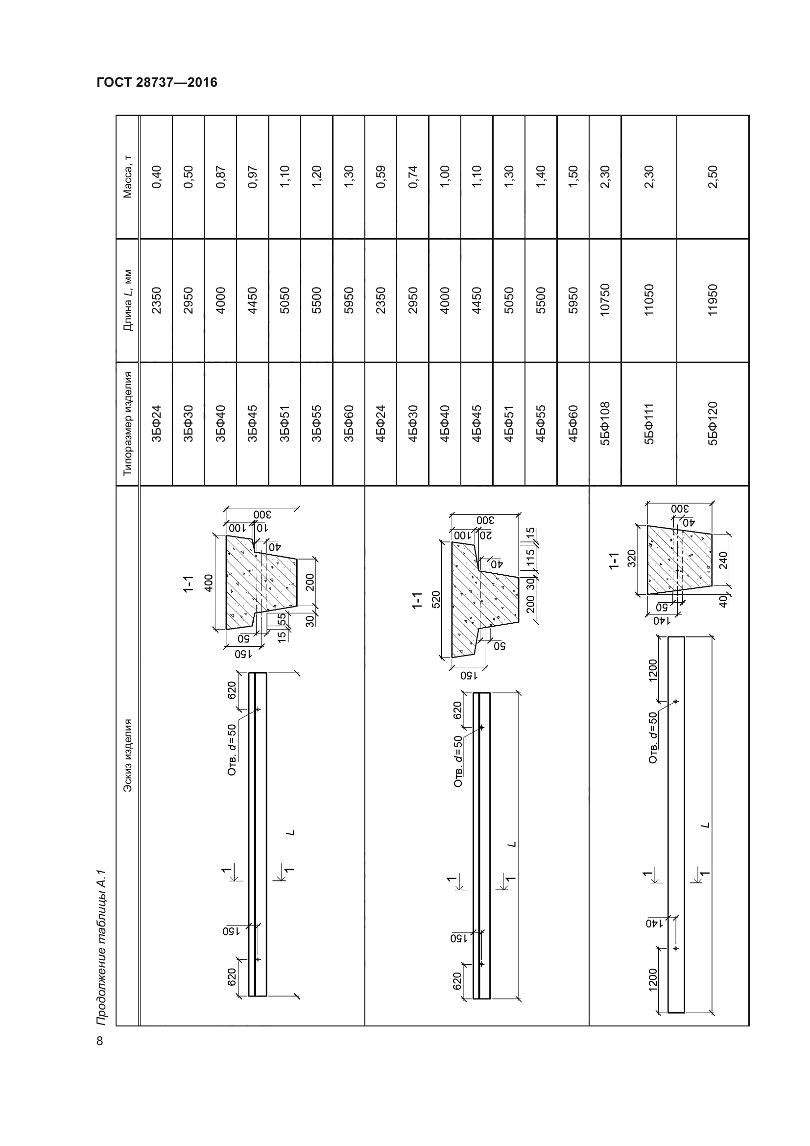
| Область применения: | Настоящий стандарт распространяется на железобетонные фундаментные балки (далее - балки), изготовляемые из тяжелого бетона, предназначенные для опирания наружных и внутренних стен зданий промышленных и сельскохозяйственных предприятий |
| Приложение №1: | Поправка к ГОСТ 28737-2016 |
| Приложение №2: | Поправка к ГОСТ 28737-2016 |
|