| Обозначение: |  ГОСТ Р 60.0.0.3-2016 |
| Статус: | действующий |
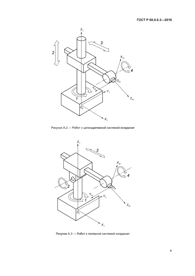
| Название рус.: | Роботы и робототехнические устройства. Системы координат и обозначение перемещений |
| Название англ.: | Robots and robotic devices. Coordinate systems and motion nomenclatures |
| Дата актуализации текста: | 01.06.2021 |
| Дата актуализации описания: | 01.06.2021 |
| Дата издания: | 29.12.2020 |
| Дата введения: | 01.01.2018 |
| Код ОКП: | 388600 |
| Аутентичен стандартам: | ISO 9787:2013 |
| Нормативные ссылки: | ISO 8373:2012 |
| Область применения: | Настоящий стандарт определяет и устанавливает системы координат роботов. Он также определяет типы основных перемещений роботов, включая их обозначения. Он предназначен для настройки, тестирования и программирования роботов |
|