| Обозначение: |  ГОСТ Р 57178-2016 |
| Статус: | действующий |
| Название рус.: | Метод электроконтактного упрочнения поверхностей деталей. Типовой технологический процесс |
| Название англ.: | Electric-contact method of surface hardening of details. Typical technological process |
| Дата актуализации текста: | 01.01.2021 |
| Дата актуализации описания: | 01.07.2023 |
| Дата издания: | 06.04.2020 |
| Дата введения: | 01.06.2017 |
| Нормативные ссылки: | ГОСТ 3.1109; ГОСТ 12.0.003; ГОСТ 12.0.004; ГОСТ 12.1.012; ГОСТ 12.1.019; ГОСТ 12.1.030; ГОСТ 12.2.007.0; ГОСТ 12.2.009; ГОСТ 12.2.061; ГОСТ 12.2.107; ГОСТ 162; ГОСТ 166; ГОСТ 427; ГОСТ 2789; ГОСТ 6507; ГОСТ 11358; ГОСТ 18295; ГОСТ 15150; ГОСТ 21130; ГОСТ 25706; ГОСТ Р 55724; ГОСТ Р 52727; ГОСТ Р МЭК 60204-1; ГОСТ Р 56542-2015; ГОСТ Р 56512-2015;ГОСТ IEC 61140-2012 |
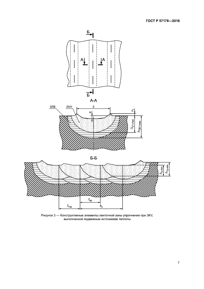
| Область применения: | Настоящий стандарт устанавливает требования к типовому технологическому процессу электроконтактного упрочнения деталей, изготовленных из конструкционных низкоуглеродистых, низко- и среднелегированных сталей. Настоящий стандарт распространяется на машиностроительную продукцию |
| Приложение №1: | Поправка к ГОСТ Р 57178-2016 |
|