| Обозначение: |  ГОСТ 33862-2016 |
| Статус: | действующий |
| Название рус.: | Энергетическая эффективность. Телевизоры. Показатели энергетической эффективности и методы определения |
| Название англ.: | Energy efficiency. Televisions sets. Indicators of energy efficiency and determination methods |
| Дата актуализации текста: | 01.01.2021 |
| Дата актуализации описания: | 01.01.2021 |
| Дата регистрации: | 27.07.2016 |
| Дата издания: | 21.08.2020 |
| Дата введения: | 01.01.2018 |
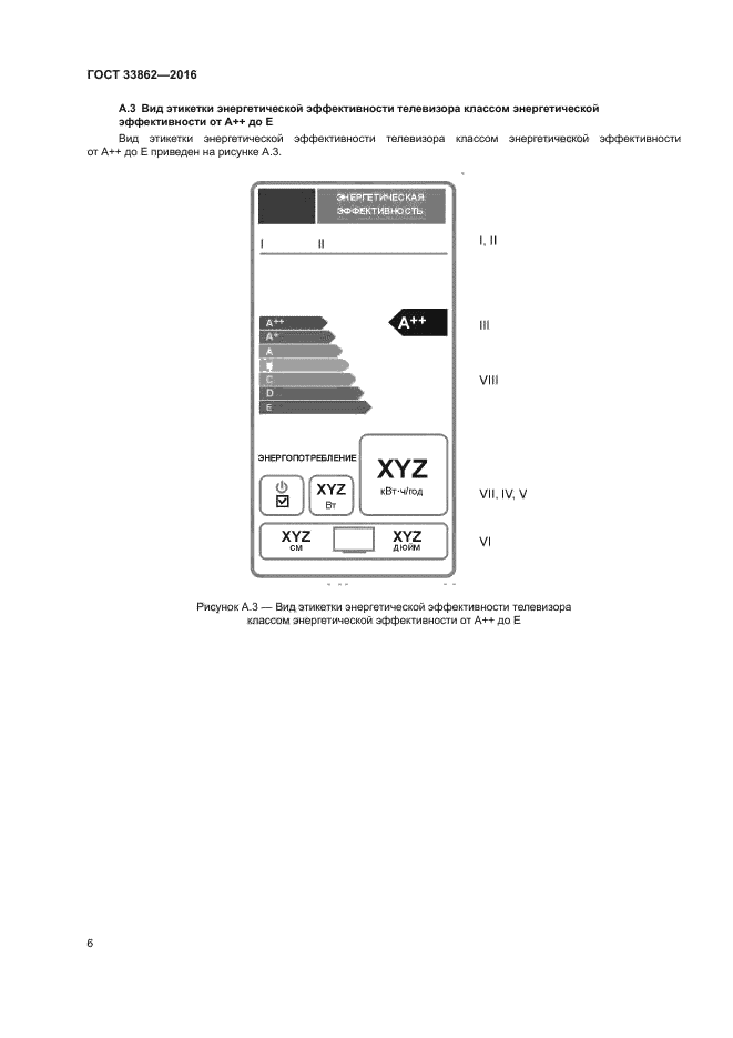
| Область применения: | Настоящий стандарт устанавливает показатели энергетической эффективности и методы их определения для целей маркировки телевизоров этикеткой энергетической эффективности |
|