Скачать ГОСТ Р 57328-2016 Экологический менеджмент. Руководство по включению экологических аспектов в стандарты на электротехническую продукциюДата актуализации: 01.06.2025 ГОСТ Р 57328-2016
Экологический менеджмент. Руководство по включению экологических аспектов в стандарты на электротехническую продукцию
| Обозначение: |  ГОСТ Р 57328-2016 |
| Статус: | действующий |
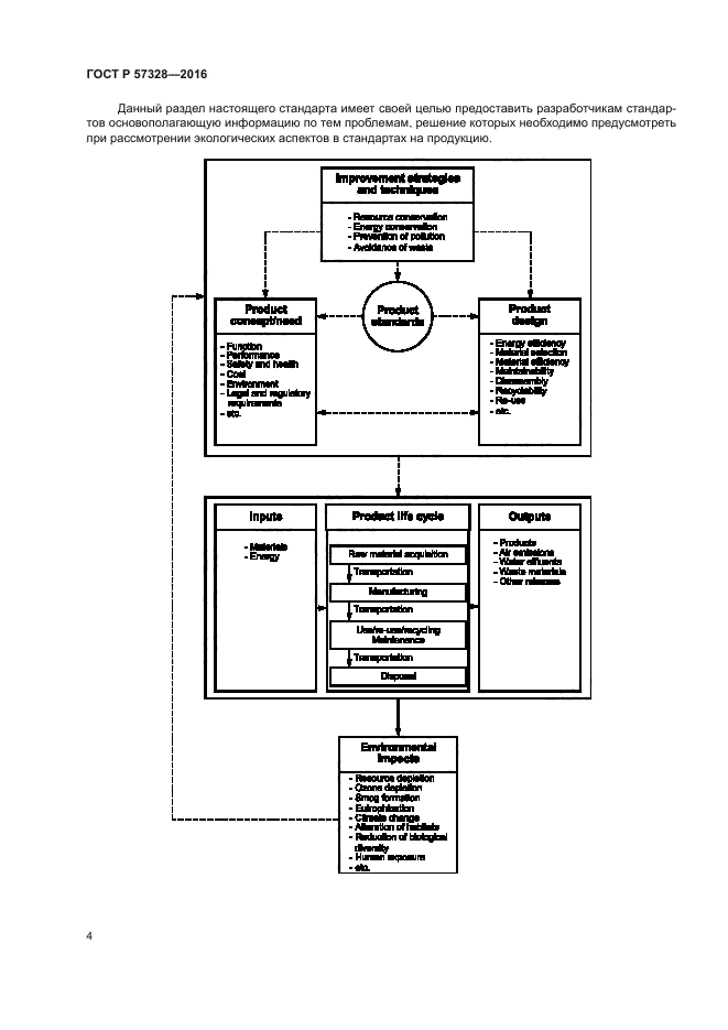
| Название рус.: | Экологический менеджмент. Руководство по включению экологических аспектов в стандарты на электротехническую продукцию | | Дата актуализации текста: | 01.01.2021 | | Дата актуализации описания: | 01.01.2021 | | Дата издания: | 16.07.2019 | | Дата введения: | 01.06.2017 | | Аутентичен стандартам: | IEC Guide 109(2012) | | Область применения: | Настоящий стандарт предназначен для разработчиков стандартов и содержит руководящие указания, как учитывать аспекты, относящиеся к воздействию электротехнической продукции на окружающую среду, при подготовке национальных и международных стандартов на продукцию | |
             
|