| Обозначение: |  ГОСТ Р 57159-2016 |
| Статус: | действующий |
| Название рус.: | Конструкции деревянные. Методы испытаний сопротивления древесины смятию под головкой крепежных изделий |
| Название англ.: | Timber structures. Test method for pull-through resistance of timber fasteners |
| Дата актуализации текста: | 01.06.2022 |
| Дата актуализации описания: | 01.07.2023 |
| Дата издания: | 18.11.2019 |
| Дата введения: | 01.04.2017 |
| Дата окончания срока действия: | 14.01.2020 |
| Код ОКП: | 536660 |
| Аутентичен стандартам: | EN 1383:1999 |
| Нормативные ссылки: | ISO 3130;ISO 3131;ISO 13061-1:2014;ISO 13061-2:2014;EN 322;EN 323;EN 1381;EN 26891;EN 28970;EN ISO 8970:2010 |
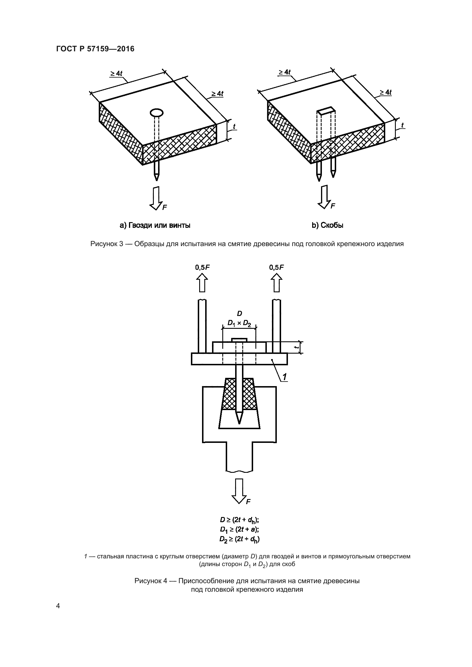
| Область применения: | Настоящий стандарт устанавливает метод определения сопротивления древесины смятию под головкой крепежных изделий. Настоящий метод применим ко всем типам гвоздей, винтов и скоб. В настоящем стандарте термин «древесина» включает в себя цельную древесину, клееную древесину и другие материалы на основе древесины |
|