| Обозначение: |  ГОСТ Р 57209-2016 |
| Статус: | действующий |
| Название рус.: | Вибрация. Руководство по выбору вибростендов. Оборудование для определения динамических свойств конструкций |
| Дата актуализации текста: | 01.06.2022 |
| Дата актуализации описания: | 01.07.2023 |
| Дата издания: | 27.03.2019 |
| Дата введения: | 01.10.2017 |
| Нормативные ссылки: | ГОСТ 31368.3; ГОСТ 31368.4; ГОСТ ИСО 7626-1; ГОСТ ИСО 7626-2; ГОСТ ИСО 7626-5; ГОСТ Р ИСО 2041; ГОСТ Р ИСО 10813-1; ГОСТ Р ИСО 10846-1; ГОСТ Р ИСО 10846-2; ГОСТ Р ИСО 10846-5 |
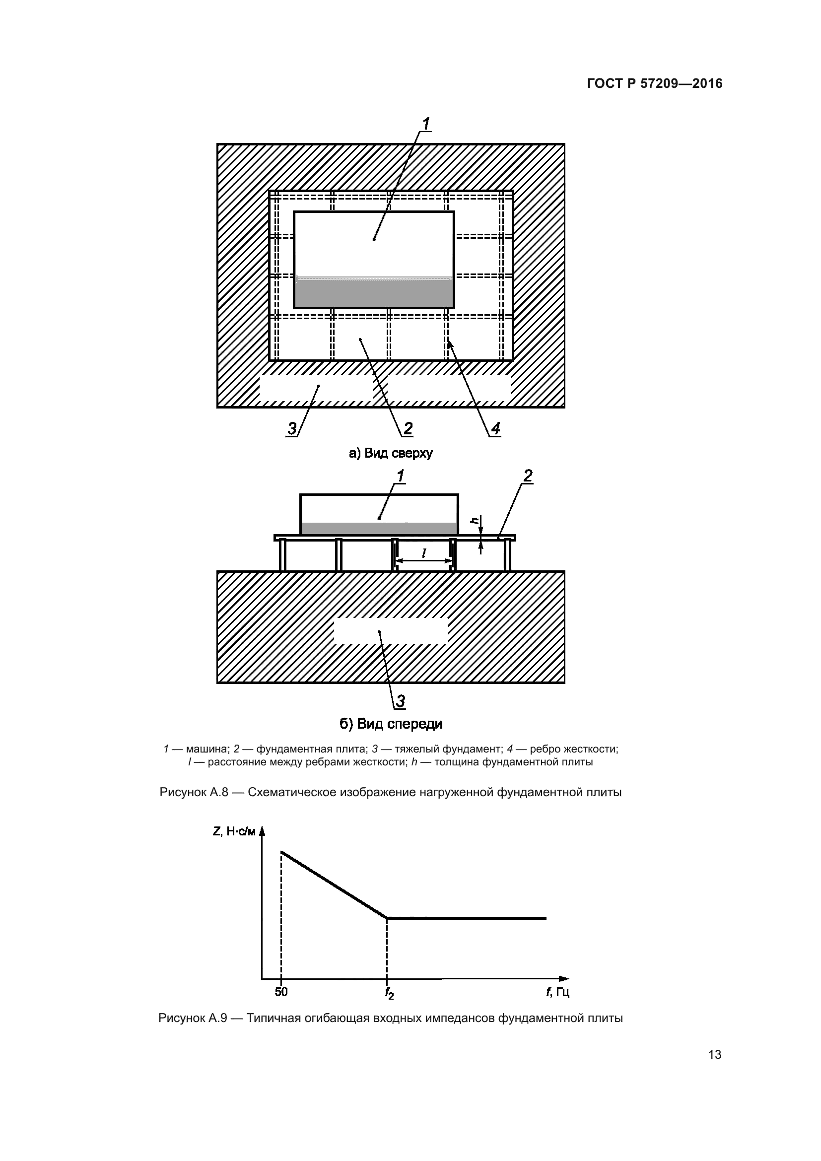
| Область применения: | Настоящий стандарт устанавливает руководство по выбору вибростенда (вибровозбудителя) для проведения испытаний с целью определения частотных характеристик конструкции и степени усиления или ослабления вибрации при ее распространении по конструкции (далее - испытания). Такие испытания могут быть выполнены в натурных или в лабораторных условиях. Настоящий стандарт распространяется на возбуждение поступательной вибрации. Рекомендации по выбору испытательного оборудования для возбуждения угловой вибрации приведены в [5] |
|