Скачать ГОСТ 33603-2015 Пневматические тормозные соединения между буксирующими и буксируемыми автомобильными транспортными средствами. Технические требования и методы испытанийДата актуализации: 01.06.2025 ГОСТ 33603-2015
Пневматические тормозные соединения между буксирующими и буксируемыми автомобильными транспортными средствами. Технические требования и методы испытаний
| Обозначение: |  ГОСТ 33603-2015 |
| Статус: | действующий |
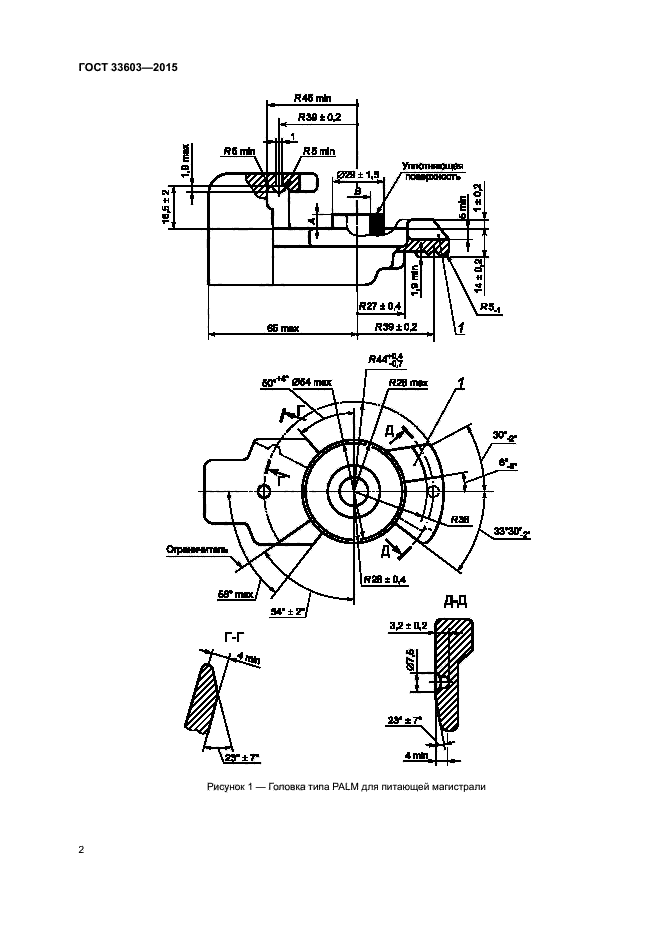
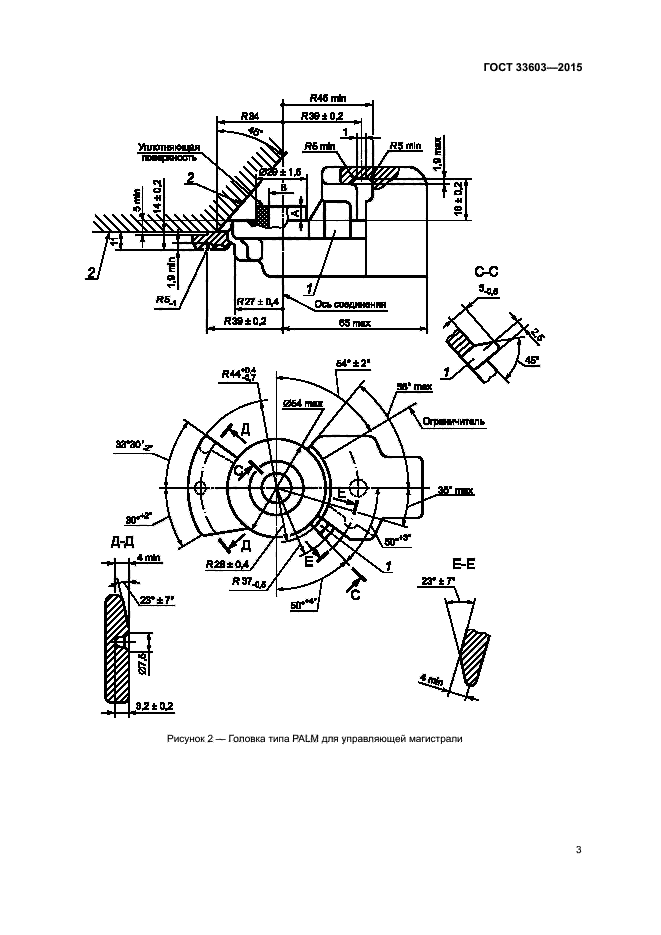
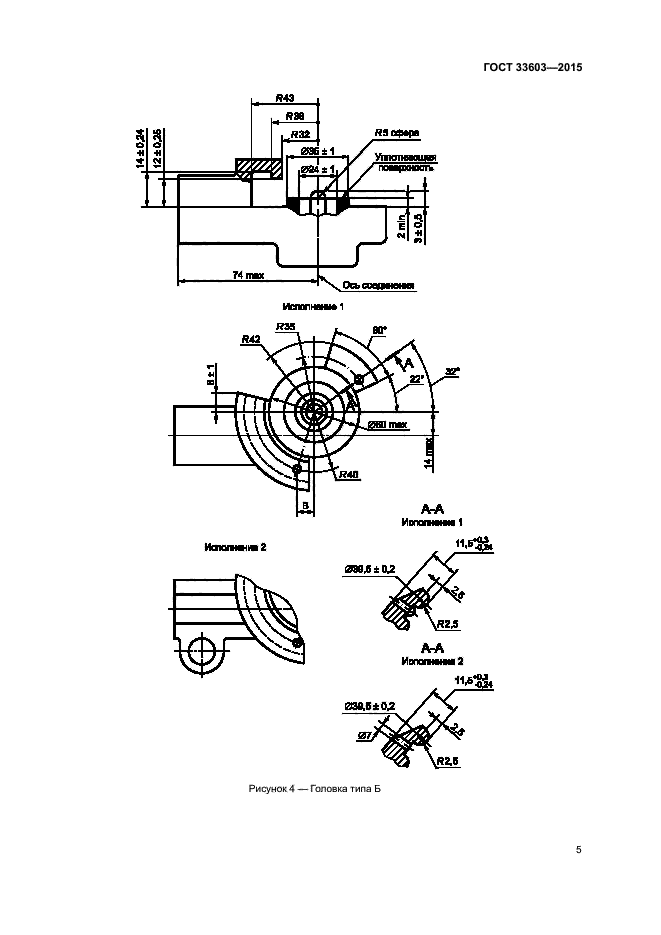
| Название рус.: | Пневматические тормозные соединения между буксирующими и буксируемыми автомобильными транспортными средствами. Технические требования и методы испытаний | | Дата актуализации текста: | 01.01.2021 | | Дата актуализации описания: | 01.01.2021 | | Дата регистрации: | 12.11.2015 | | Дата издания: | 15.07.2019 | | Дата введения: | 01.04.2017 | | Область применения: | Настоящий стандарт распространяется на соединительные головки (далее - головки), предназначенные для соединения однопроводных и двухпроводных приводов тормозных систем автомобилей и тракторов (далее - тягачей) с приводами тормозных систем прицепов, полуприцепов и прицепных сельскохозяйственных машин (далее - прицепов), а также для соединения тормозных систем звеньев автопоездов и тракторных поездов, и устанавливает типы головок, основные присоединительные размеры, необходимые для обеспечения их соединения, технические требования и методы испытаний | |
         
|