| Обозначение: |  ГОСТ 5746-2015 |
| Статус: | действующий |
| Название рус.: | Лифты пассажирские. Основные параметры и размеры |
| Дата актуализации текста: | 01.01.2024 |
| Дата актуализации описания: | 01.07.2023 |
| Дата регистрации: | 10.12.2015 |
| Дата издания: | 28.06.2016 |
| Дата введения: | 01.01.2017 |
| Содержит требования: | ISO 4190-1:2010 |
| Нормативные ссылки: | ГОСТ 8032-84; ГОСТ 30471-96 |
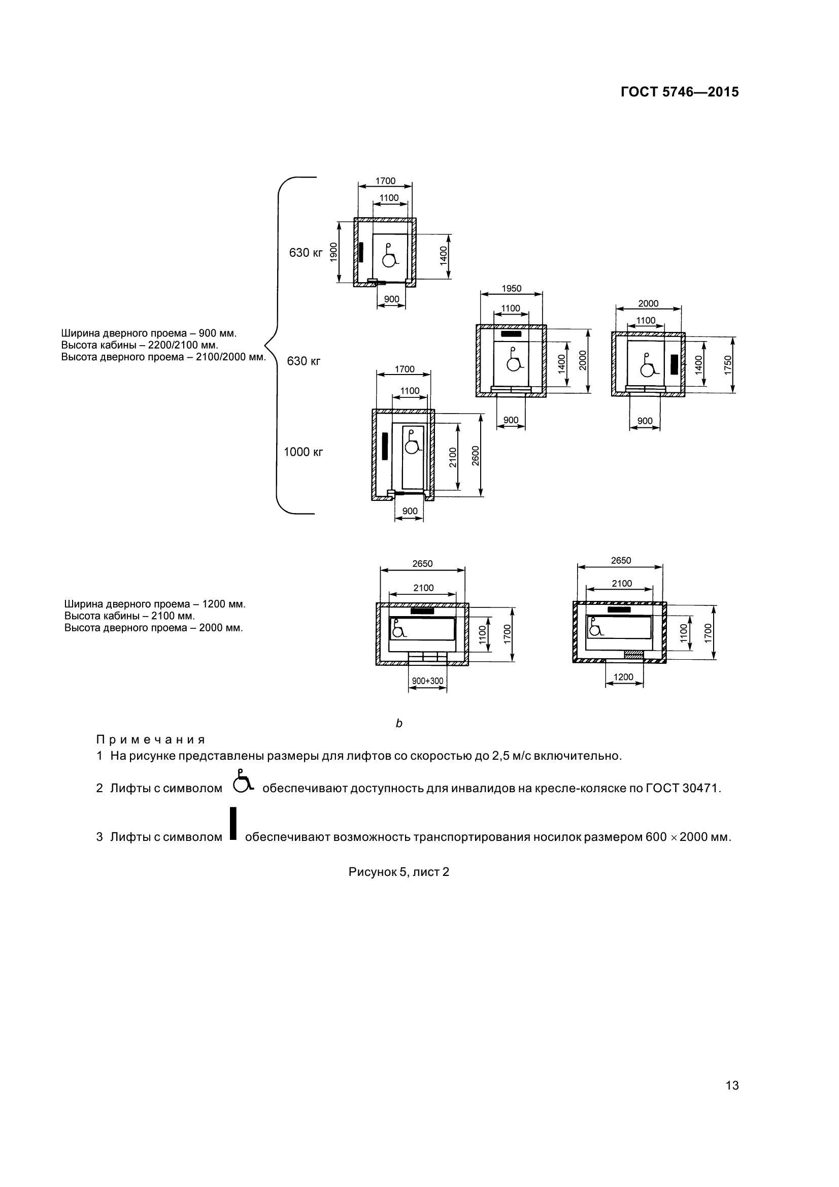
| Область применения: | Настоящий стандарт распространяется на пассажирские лифты для зданий (сооружений) различного назначения. Пассажирские лифты, включенные в настоящий стандарт, предназначены для установки в новые здания (сооружения). Настоящий стандарт может быть использован в качестве нормативной базы при установке новых лифтов в существующие здания (сооружения) |
| Приложение №1: | Поправка к ГОСТ 5746-2015 |
|