| Обозначение: |  ГОСТ 16277-2016 |
| Статус: | действующий |
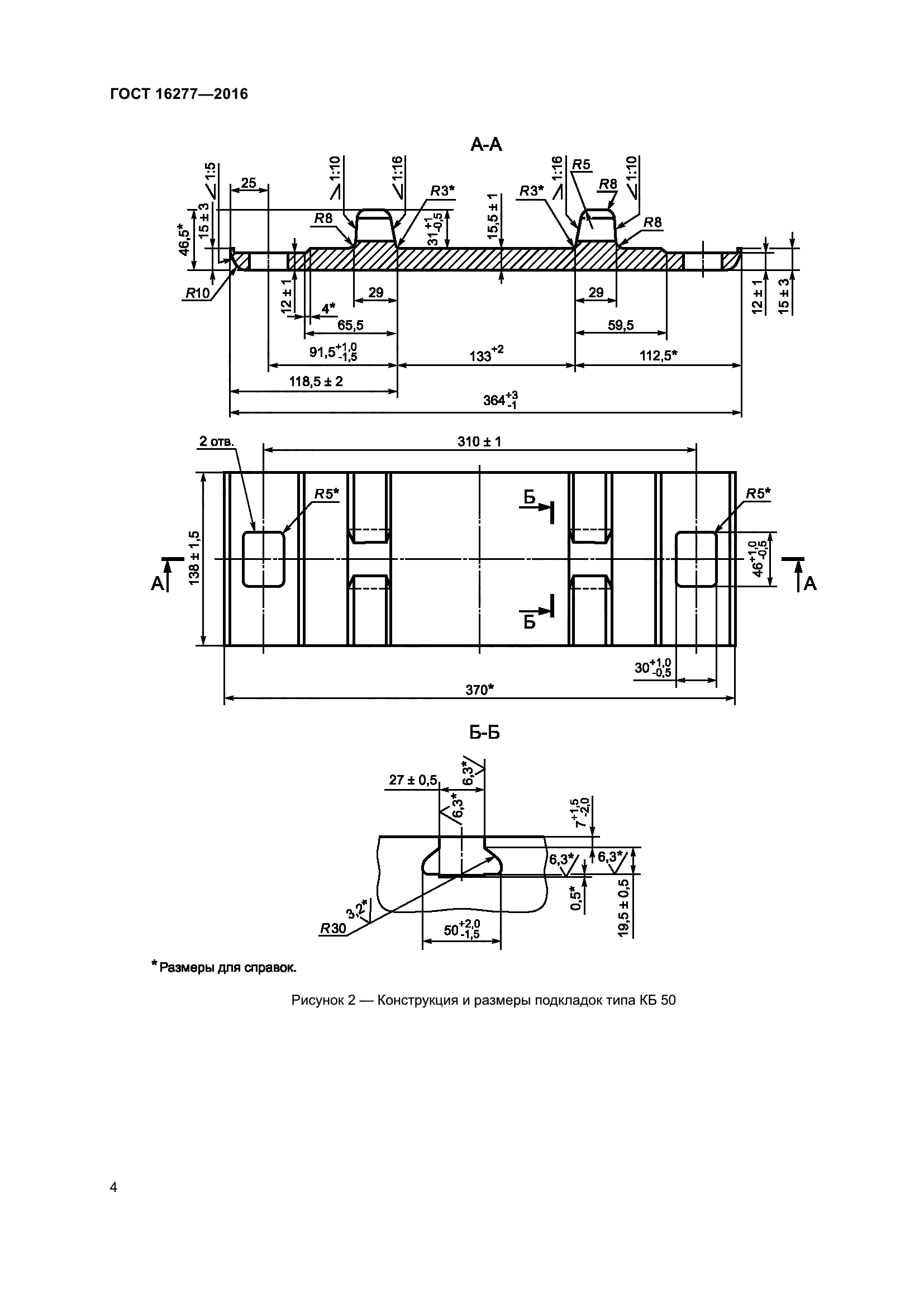
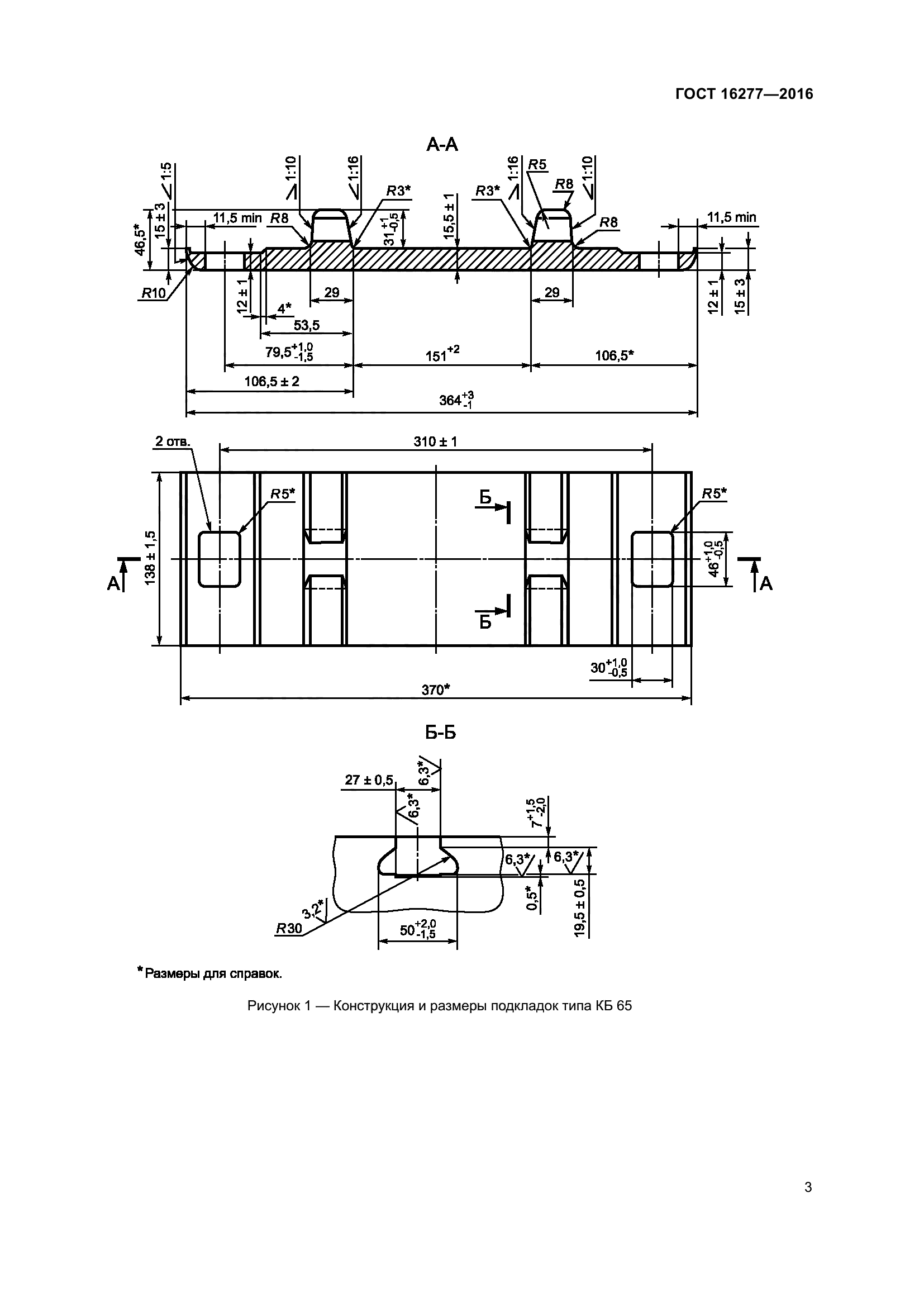
| Название рус.: | Подкладки раздельного скрепления железнодорожного пути. Технические условия |
| Дата актуализации текста: | 01.01.2026 |
| Дата актуализации описания: | 01.01.2024 |
| Дата регистрации: | 29.01.2016 |
| Дата издания: | 30.09.2019 |
| Дата введения: | 01.01.2017 |
| Код ОКП: | 113200 |
| Взамен: | ГОСТ 16277-93 |
| Нормативные ссылки: | ГОСТ 15.309-98; ГОСТ 535; ГОСТ 6631; ГОСТ 7566; ГОСТ 7661; ГОСТ 8026; ГОСТ 16; ГОСТ 380; ГОСТ 15150; ГОСТ 18321 |
| Область применения: | Настоящий стандарт распространяется на подкладки раздельного скрепления для железнодорожного пути на железобетонных и деревянных шпалах с рельсами Р 65 и Р 50, предназначенные для эксплуатации на железнодорожных путях общего и необщего пользования |
| Приложение №1: | Изменение к ГОСТ 16277-2016. Поправка к изменению |
| Приложение №2: | Изменение №1 к ГОСТ 16277-2016 |
|