Скачать ГОСТ 33619-2015 Угли бурые, каменные и антрацит. Стандартный метод определения прочности на сбрасываниеДата актуализации: 01.06.2025 ГОСТ 33619-2015
Угли бурые, каменные и антрацит. Стандартный метод определения прочности на сбрасывание
| Обозначение: |  ГОСТ 33619-2015 |
| Статус: | действующий |
| Название рус.: | Угли бурые, каменные и антрацит. Стандартный метод определения прочности на сбрасывание | | Дата актуализации текста: | 07.08.2016 | | Дата актуализации описания: | 01.07.2023 | | Дата регистрации: | 27.10.2015 | | Дата издания: | 06.04.2016 | | Дата введения: | 01.04.2017 | | Содержит требования: | ASTM D 440-07 | | Нормативные ссылки: | ГОСТ 2093-82; ГОСТ 10742-71; ГОСТ 28946-91;ГОСТ OIML R 76-1-2011 | | Область применения: | Настоящий стандарт распространяется на угли бурые и лигниты, угли каменные, антрациты (далее-угли) и устанавливает метод определения прочности угля на сбрасывание. Метод включает определение относительного стабильного размера и хрупкости угля, сортированного по крупности | |
      
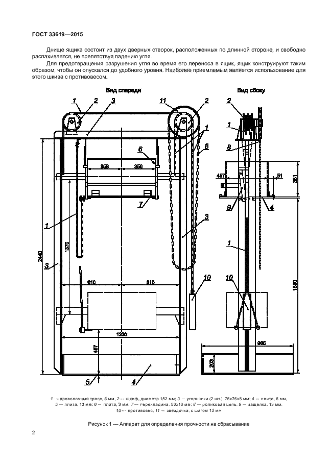
|