| Обозначение: |  ГОСТ 30456-97 |
| Статус: | заменён |
| Название рус.: | Металлопродукция. Прокат листовой и трубы стальные. Методы испытания на ударный изгиб |
| Название англ.: | Metal production. Rolled steel and tubes. Methods of blow bending tests |
| Дата актуализации текста: | 06.04.2015 |
| Дата актуализации описания: | 01.07.2023 |
| Дата регистрации: | 23.04.1997 |
| Дата издания: | 01.10.2002 |
| Дата введения: | 01.01.2000 |
| Дата окончания срока действия: | 01.04.2022 |
| Код ОКП: | 130900 |
| Заменяющий: | ГОСТ 30456-2021 |
| Нормативные ссылки: | ГОСТ 2789-73; ГОСТ 9293-74; ГОСТ 12162-77; ГОСТ 28498-90 |
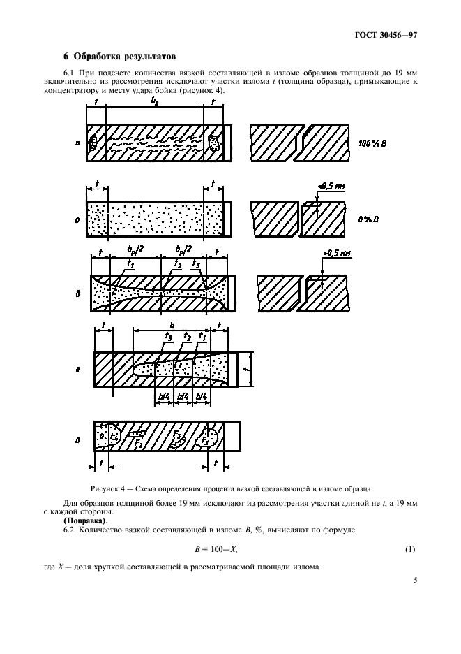
| Область применения: | Настоящий стандарт устанавливает методы испытания образцов из основного металла стальных труб диаметром 508 мм и более, толщиной стенки более 7,5 мм и листового проката такой же толщины для их производства |
| Список изменений: | №0 от 14.09.2000 (рег. 14.09.2000) «Дата введения перенесена» |
|