Скачать ГОСТ 26455-97 Муфты дисковые полужесткие. Параметры, конструкция и размерыДата актуализации: 01.06.2025 ГОСТ 26455-97
Муфты дисковые полужесткие. Параметры, конструкция и размеры
| Обозначение: |  ГОСТ 26455-97 |
| Статус: | действующий |
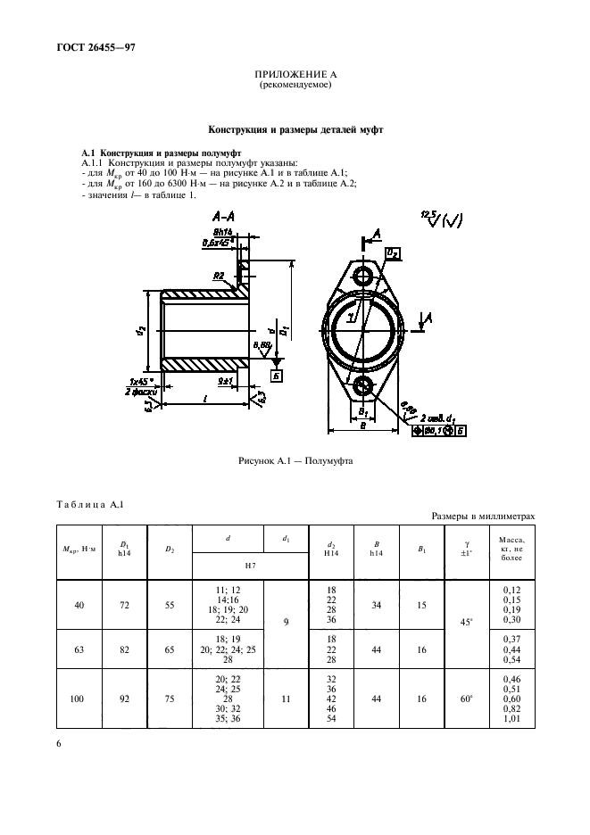
| Название рус.: | Муфты дисковые полужесткие. Параметры, конструкция и размеры | | Название англ.: | Semifixed disk couplings. Parameters, design and dimensions | | Дата актуализации текста: | 06.04.2015 | | Дата актуализации описания: | 01.07.2023 | | Дата регистрации: | 20.11.1997 | | Дата издания: | 21.09.2001 | | Дата введения: | 01.01.2002 | | Код ОКП: | 417110 | | Взамен: | ГОСТ 26455-85 | | Нормативные ссылки: | ГОСТ 9.301-86; ГОСТ 9.303-84; ГОСТ 9.306-85; ГОСТ 380-94; ГОСТ 1050-88; ГОСТ 2283-79; ГОСТ 4986-79; ГОСТ 5915-70; ГОСТ 6402-70; ГОСТ 7817-80; ГОСТ 10748-79; ГОСТ 11371-78; ГОСТ 12080-66; ГОСТ 15150-69; ГОСТ 23360-78 | | Область применения: | Настоящий стандарт распространяется на дисковые полужесткие муфты общемашиностроительного применения, предназначенные для соединения соосных валов и передачи крутящего момента от 40 до 6300 Н.м, а также компенсации смещений осей валов без уменьшения динамических нагрузок, климатических исполнений У и Т, категорий 1-3, 5, климатических исполнений УХЛ и О категории 4 по ГОСТ 15150 | |
             
|