| Обозначение: |  ГОСТ Р 52082-2003 |
| Статус: | заменён |
| Название рус.: | Изоляторы полимерные опорные наружной установки на напряжение 6-220 кВ. Общие технические условия |
| Название англ.: | Support polymeric outdoor insulators for voltage 6-220 kV. General specifications |
| Дата актуализации текста: | 06.04.2015 |
| Дата актуализации описания: | 01.01.2024 |
| Дата издания: | 22.09.2003 |
| Дата введения: | 01.01.2004 |
| Дата окончания срока действия: | 01.12.2023 |
| Код ОКП: | 349300 |
| Заменяющий: | ГОСТ Р 52082-2023 |
| Нормативные ссылки: | ГОСТ 9.307-89; ГОСТ 12.2.007.0-75; ГОСТ 12.2.007.3-75; ГОСТ 15.309-98; ГОСТ 380-94; ГОСТ 977-88; ГОСТ 1033-79; ГОСТ 1050-88; ГОСТ 1133-71; ГОСТ 1414-75; ГОСТ 1516.2-97; ГОСТ 1516.3-96; ГОСТ 1583-93; ГОСТ 2590-88; ГОСТ 2591-88; ГОСТ 4543-71; ГОСТ 5781-82; ГОСТ 5959-80; ГОСТ 6267-74; ГОСТ 6433.3-71; ГОСТ 7417-75; ГОСТ 9142-90; ГОСТ 9396-88; ГОСТ 9920-89; ГОСТ 10390-86; ГОСТ 14192-96; ГОСТ 15150-69; ГОСТ 15543.1-89; ГОСТ 15846-2002; ГОСТ 17412-72; ГОСТ 17512-82; ГОСТ 18321-73; ГОСТ 20074-83; ГОСТ 21140-88; ГОСТ 22261-94; ГОСТ 23216-78; ГОСТ 23706-93; ГОСТ 26093-84; ГОСТ 26196-84; ГОСТ 26358-84; ГОСТ 26838-86; ГОСТ 28779-90; ГОСТ Р 51163-98; ГОСТ Р 51177-98 |
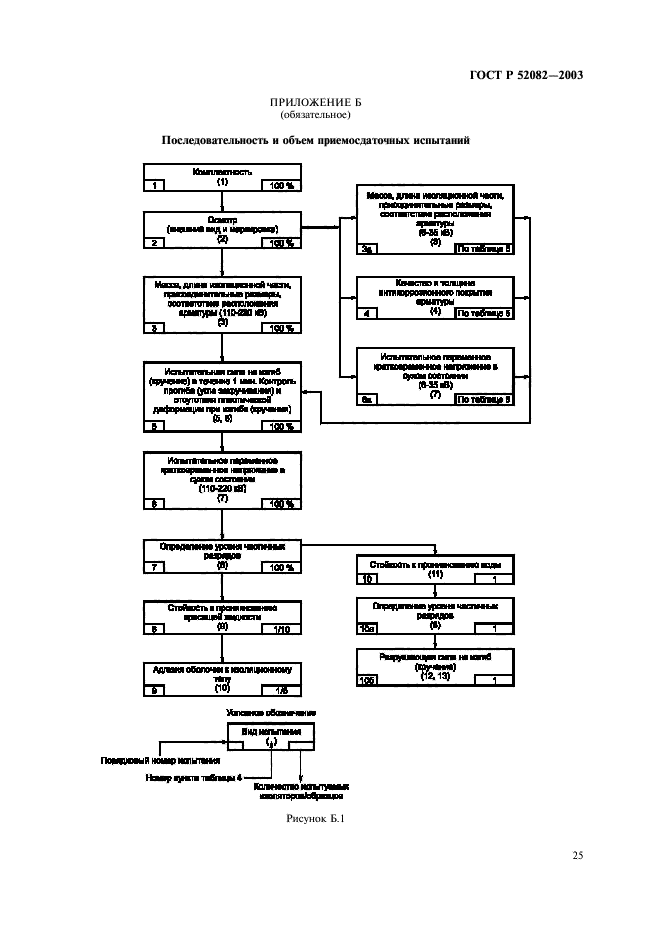
| Область применения: | Настоящий стандарт распространяется на опорные полимерные изоляторы наружной установки, предназначенные для изоляции и крепления токоведущих частей в электрических аппаратах и распределительных устройствах электрических станций и подстанций переменного тока напряжением 6-220 кВ частотой до 100 Гц |
|