| Обозначение: |  ГОСТ 30827-2002 |
| Статус: | действующий |
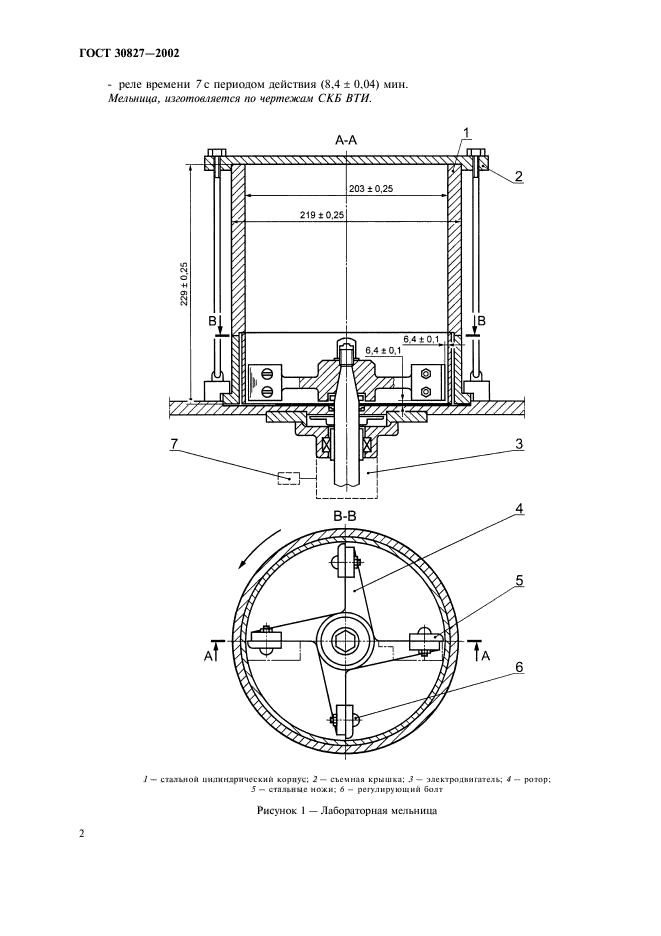
| Название рус.: | Топливо твердое минеральное. Определение истирающей способности (абразивности) |
| Название англ.: | Solid mineral fuel. Determination of abrasiveness |
| Дата актуализации текста: | 06.04.2015 |
| Дата актуализации описания: | 01.07.2023 |
| Дата регистрации: | 06.11.2002 |
| Дата издания: | 28.07.2003 |
| Дата введения: | 01.01.2004 |
| Содержит требования: | ISO 12900:1997 |
| Нормативные ссылки: | ГОСТ 380-94; ГОСТ 2603-79; ГОСТ 2715-75; ГОСТ 2999-75; ГОСТ 10742-71; ГОСТ 18300-87; ГОСТ 24104-2001; ГОСТ 27314-91; ГОСТ 28498-90 |
| Область применения: | Настоящий стандарт устанавливает метод определения истирающей способности каменных и бурых углей, антрацитов, лигнитов, горючих сланцев на лабораторной мельнице |
|