| Обозначение: |  ГОСТ 25575-2014 |
| Статус: | действующий |
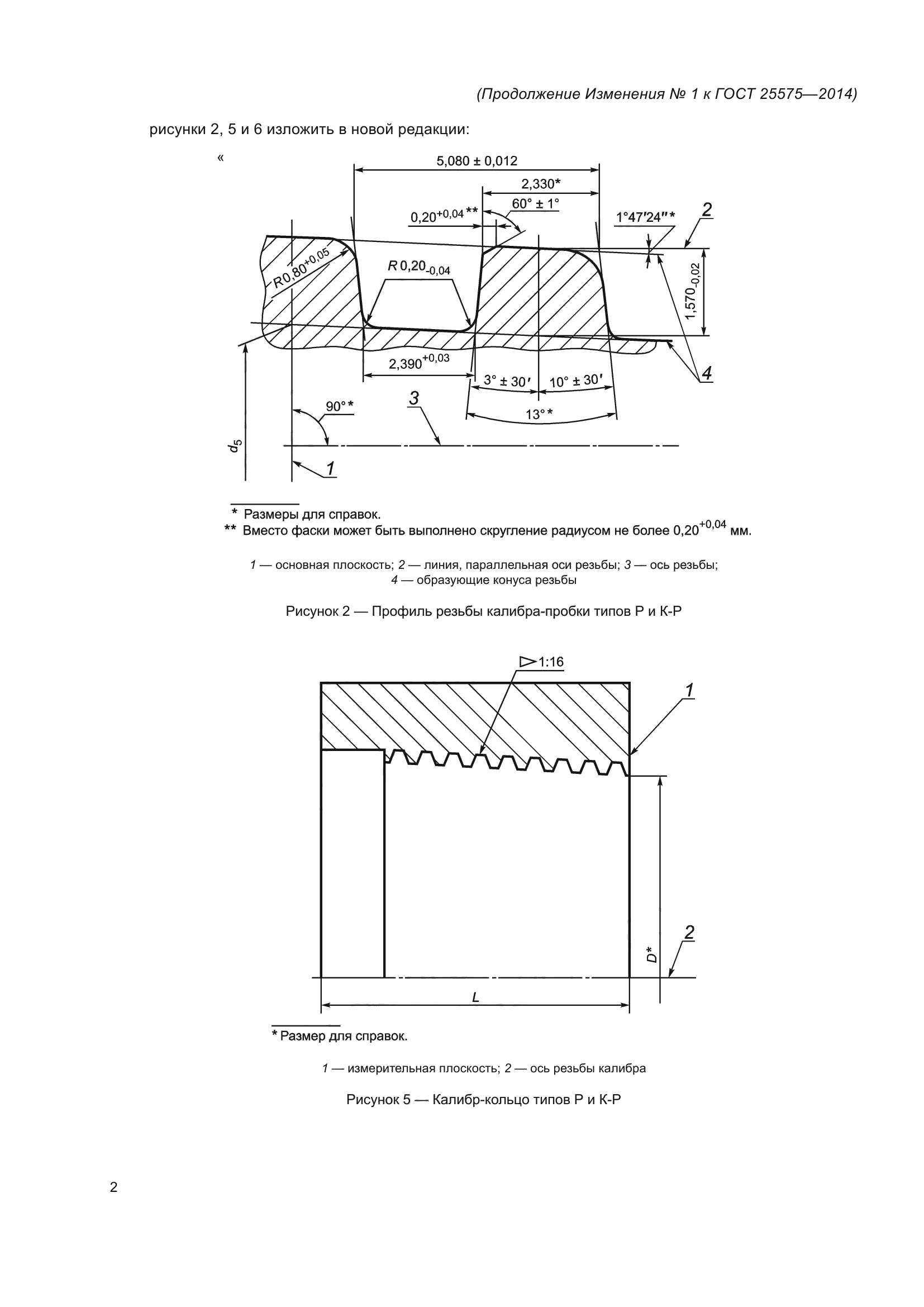
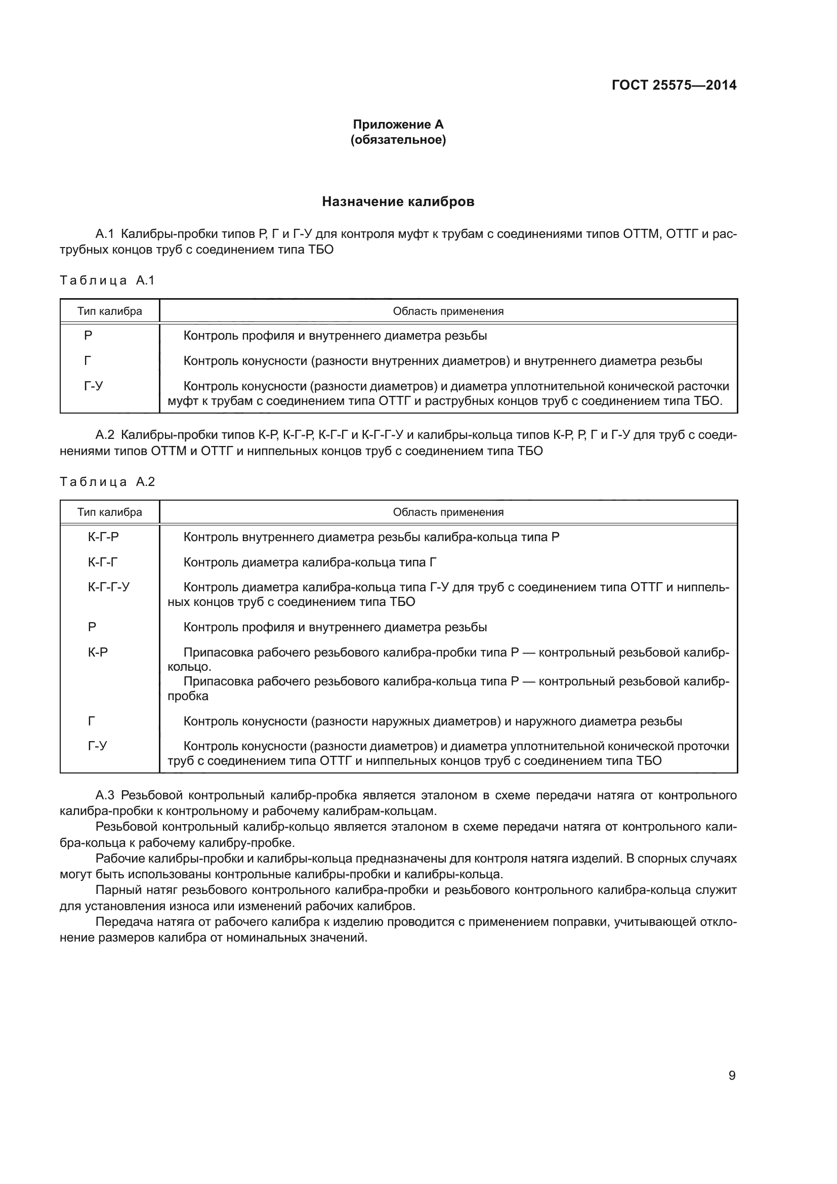
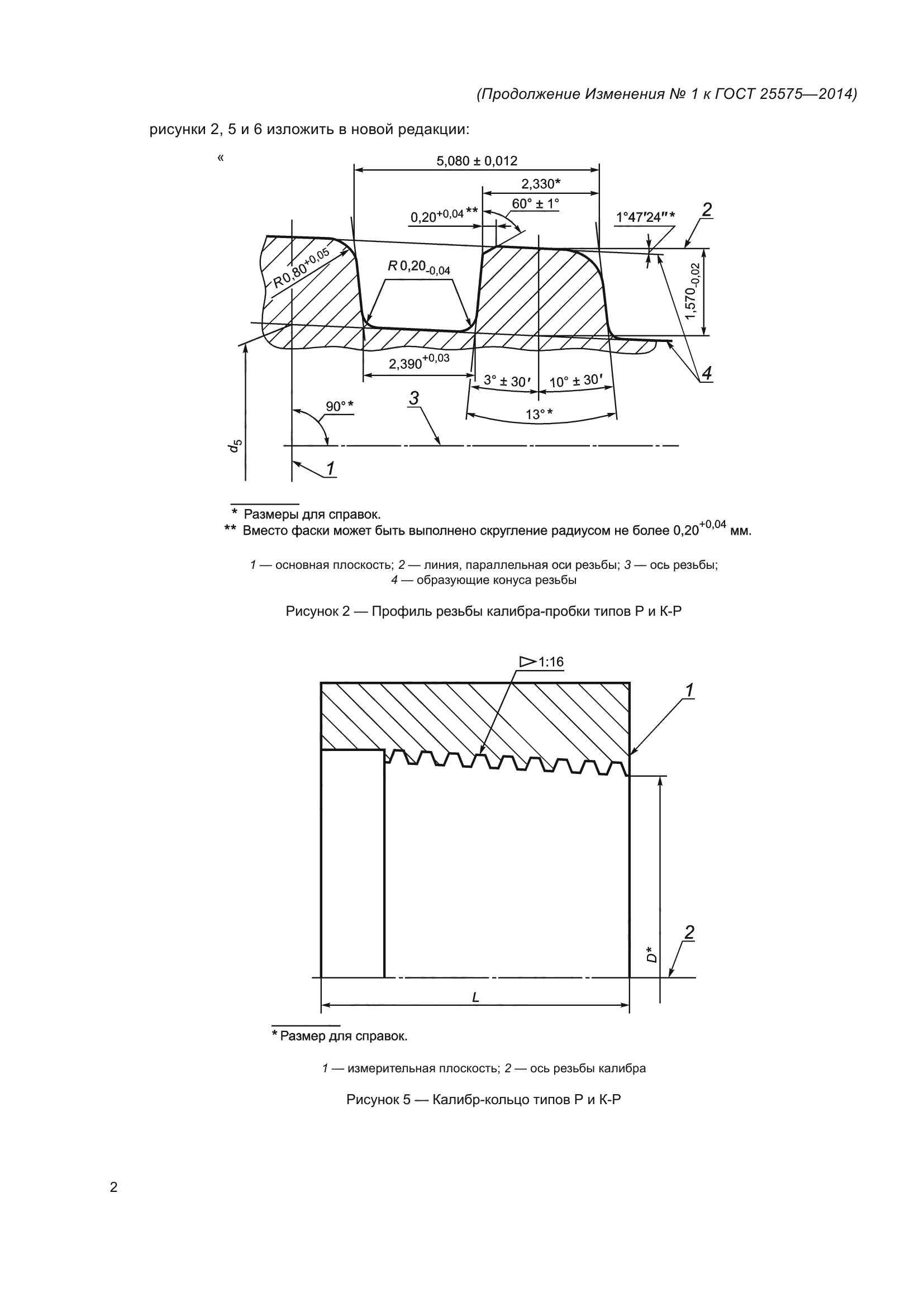
| Название рус.: | Калибры для соединений с трапецеидальной резьбой обсадных труб и муфт к ним. Типы и основные размеры |
| Название англ.: | Gauges for trapezoidal thread connections for casing pipes with couplings. Types and basic dimensions |
| Дата актуализации текста: | 01.01.2023 |
| Дата актуализации описания: | 01.01.2022 |
| Дата регистрации: | 25.06.2014 |
| Дата издания: | 15.03.2019 |
| Дата введения: | 01.12.2015 |
| Взамен: | ГОСТ 25575-83 |
| Нормативные ссылки: | ГОСТ 24672 |
| Область применения: | Настоящий стандарт распространяется на контрольные и рабочие конические резьбовые и гладкие калибры, предназначенные для контроля трапецеидальной резьбы и уплотнительных поверхностей резьбовых соединений обсадных труб и муфт к ним типов ОТТМ, ОТТГ и труб типа ТБО |
| Приложение №1: | Изменение к ГОСТ 25575-2014. Поправка к изменению |
| Приложение №2: | Изменение №1 к ГОСТ 25575-2014 |
| Приложение №3: | Поправка к ГОСТ 25575-2014 |
|