Скачать ГОСТ 11214-78 Окна и балконные двери деревянные с двойным остеклением для жилых и общественных зданий. Типы, конструкция и размерыДата актуализации: 01.06.2025 ГОСТ 11214-78
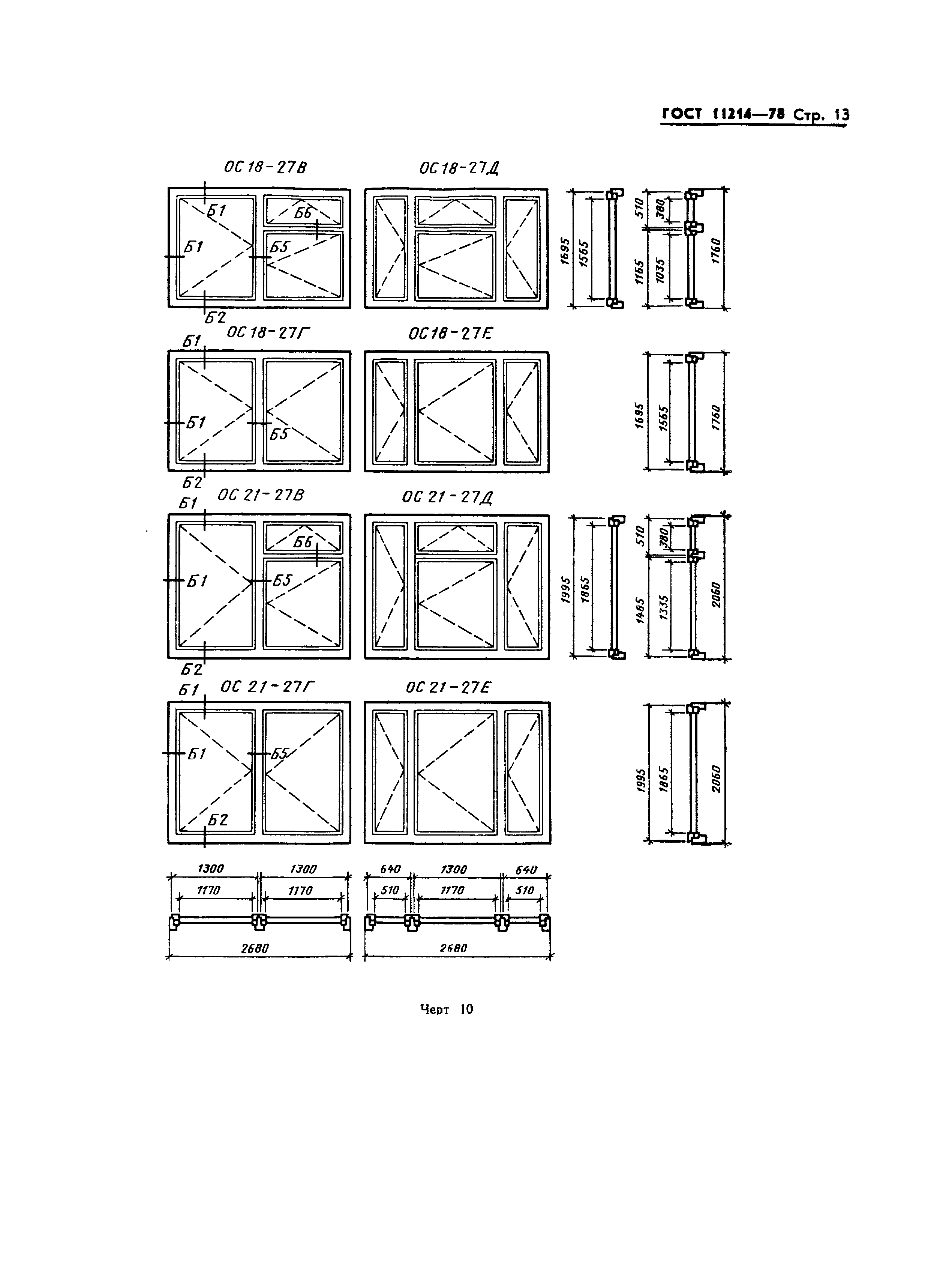
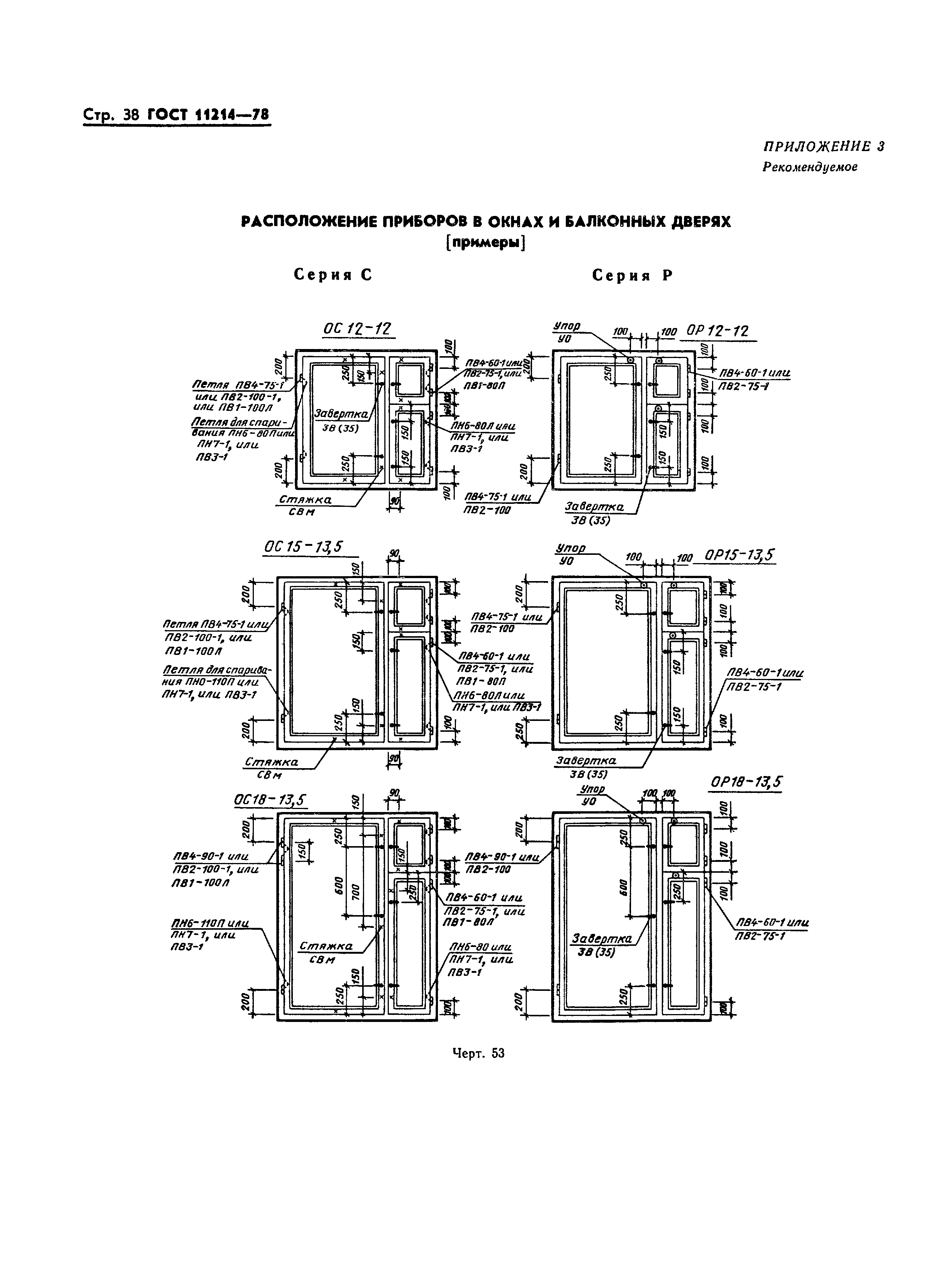
Окна и балконные двери деревянные с двойным остеклением для жилых и общественных зданий. Типы, конструкция и размеры
| Обозначение: |  ГОСТ 11214-78 |
| Статус: | не действует в РФ |
| Название рус.: | Окна и балконные двери деревянные с двойным остеклением для жилых и общественных зданий. Типы, конструкция и размеры | | Дата актуализации текста: | 06.04.2015 | | Дата актуализации описания: | 01.06.2019 | | Дата введения: | 01.01.1981 | |
                                           
|