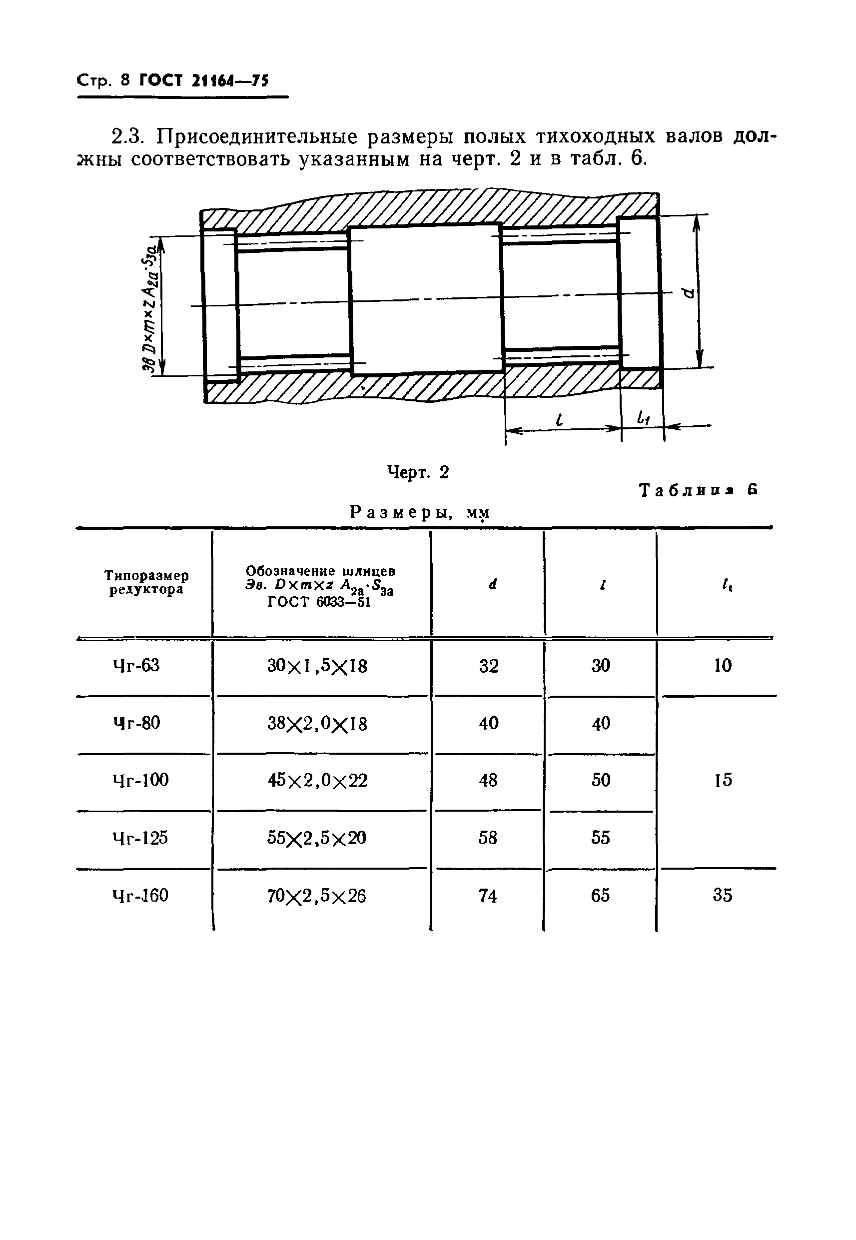
Скачать ГОСТ 21164-75 Редукторы глобоидные типа Чг. Основные параметры, габаритные и присоединительные размерыДата актуализации: 01.06.2025 ГОСТ 21164-75
Редукторы глобоидные типа Чг. Основные параметры, габаритные и присоединительные размеры
| Обозначение: |  ГОСТ 21164-75 |
| Статус: | не действует в РФ |
| Название рус.: | Редукторы глобоидные типа Чг. Основные параметры, габаритные и присоединительные размеры | | Дата актуализации текста: | 06.04.2015 | | Дата актуализации описания: | 01.06.2019 | | Дата введения: | 01.01.1977 | |
          
|