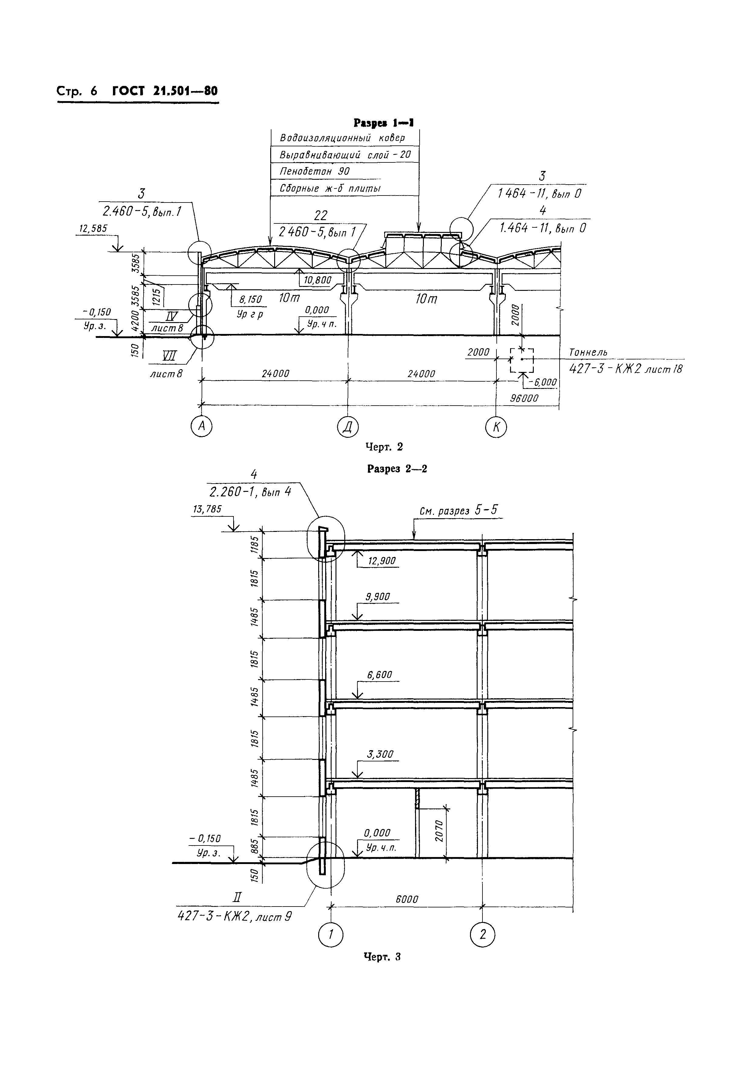
Скачать ГОСТ 21.501-80 Система проектной документации для строительства. Архитектурные решения. Рабочие чертежиДата актуализации: 01.06.2025 ГОСТ 21.501-80
Система проектной документации для строительства. Архитектурные решения. Рабочие чертежи
| Обозначение: |  ГОСТ 21.501-80 |
| Статус: | не действует в РФ |
| Название рус.: | Система проектной документации для строительства. Архитектурные решения. Рабочие чертежи | | Дата актуализации текста: | 06.04.2015 | | Дата актуализации описания: | 01.06.2019 | | Дата введения: | 01.07.1981 | |
                 
|