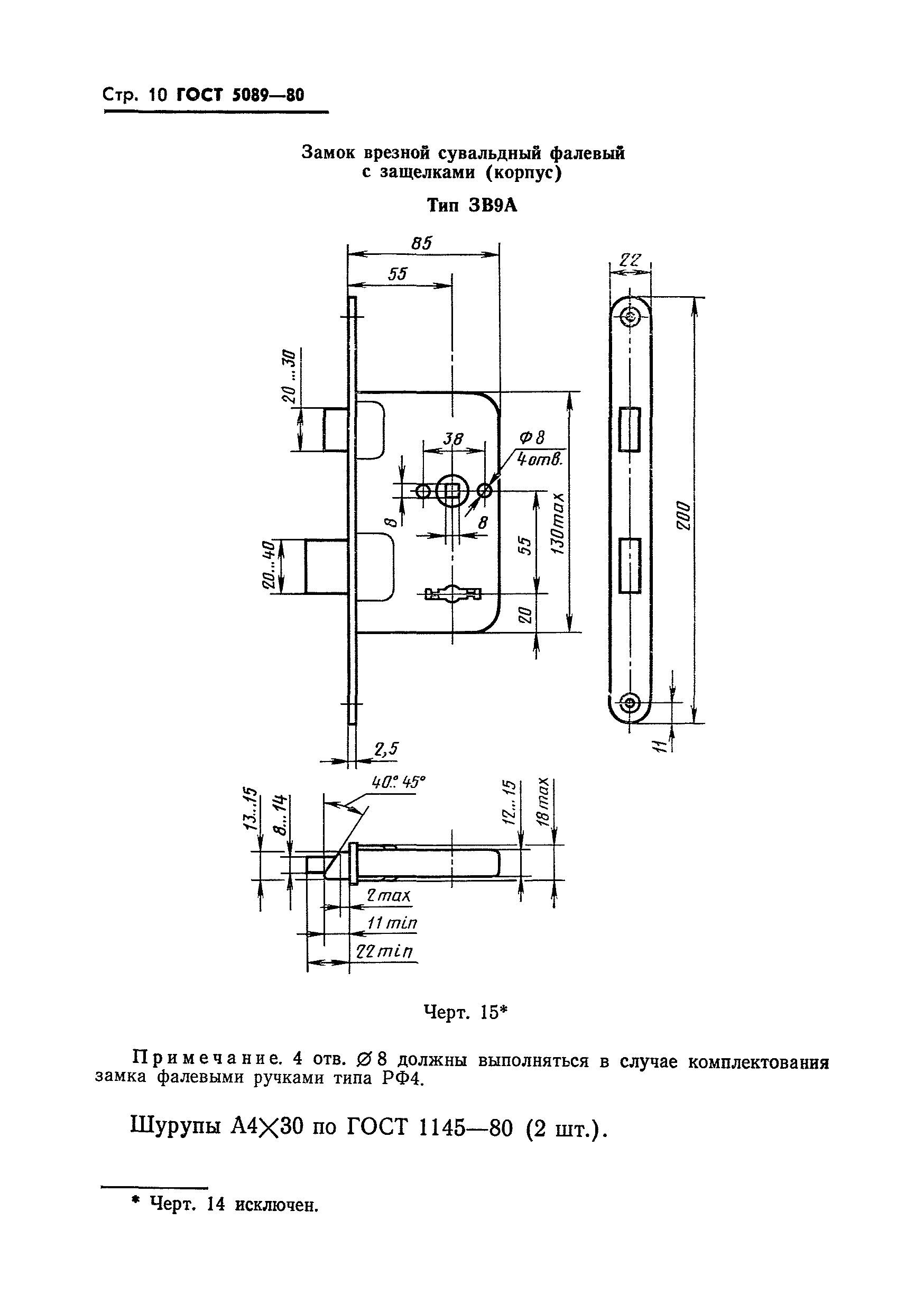
Скачать ГОСТ 5089-80 Замки и защелки для дверей. Типы и основные размерыДата актуализации: 01.06.2025 ГОСТ 5089-80
Замки и защелки для дверей. Типы и основные размеры
| Обозначение: |  ГОСТ 5089-80 |
| Статус: | не действует в РФ |
| Название рус.: | Замки и защелки для дверей. Типы и основные размеры | | Дата актуализации текста: | 06.04.2015 | | Дата актуализации описания: | 01.06.2019 | | Дата введения: | 01.01.1981 | |
                                           
|