Скачать ГОСТ Р 50571-5-53-2013 Электроустановки низковольтные. Часть 5-53. Выбор и монтаж электрооборудования. Отделение, коммутация и управлениеДата актуализации: 01.06.2025 ГОСТ Р 50571-5-53-2013
Электроустановки низковольтные. Часть 5-53. Выбор и монтаж электрооборудования. Отделение, коммутация и управление
| Обозначение: |  ГОСТ Р 50571-5-53-2013 |
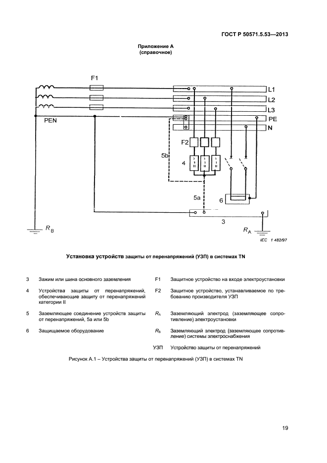
| Статус: | не действует в РФ |
| Название рус.: | Электроустановки низковольтные. Часть 5-53. Выбор и монтаж электрооборудования. Отделение, коммутация и управление | | Название англ.: | Low-voltage electrical installations. Part 5-53. Selection and erection of electrical equipment. Isolation, switching and control | | Дата актуализации текста: | 06.04.2015 | | Дата актуализации описания: | 01.06.2019 | | Дата введения: | 01.01.2015 | |
                          
|