| Обозначение: |  ГОСТ 32296-2013 |
| Статус: | действующий |
| Название рус.: | Методы испытаний по воздействию химической продукции на организм человека. Основные требования к проведению испытаний по оценке острой токсичности при внутрижелудочном поступлении методом фиксированной дозы |
| Название англ.: | Тesting of chemicals of health hazard. Acute oral toxicity fixed dose procedure |
| Дата актуализации текста: | 01.01.2021 |
| Дата актуализации описания: | 01.01.2021 |
| Дата регистрации: | 14.11.2013 |
| Дата издания: | 12.07.2019 |
| Дата введения: | 01.08.2014 |
| Аутентичен стандартам: | OECD Test № 420:2001 |
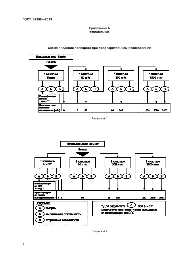
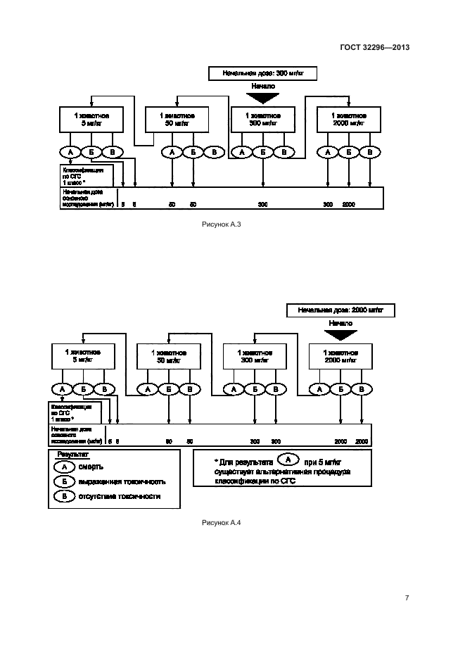
| Область применения: | Настоящий стандарт устанавливает требования к тестированию острой токсичности при внутрижелудочном поступлении химической продукции методом фиксированной дозы |
|