Скачать ГОСТ 32644-2014 Методы испытания по воздействию химической продукции на организм человека. Острая пероральная токсичность - метод определения класса острой токсичностиДата актуализации: 01.06.2025 ГОСТ 32644-2014
Методы испытания по воздействию химической продукции на организм человека. Острая пероральная токсичность - метод определения класса острой токсичности
| Обозначение: |  ГОСТ 32644-2014 |
| Статус: | действующий |
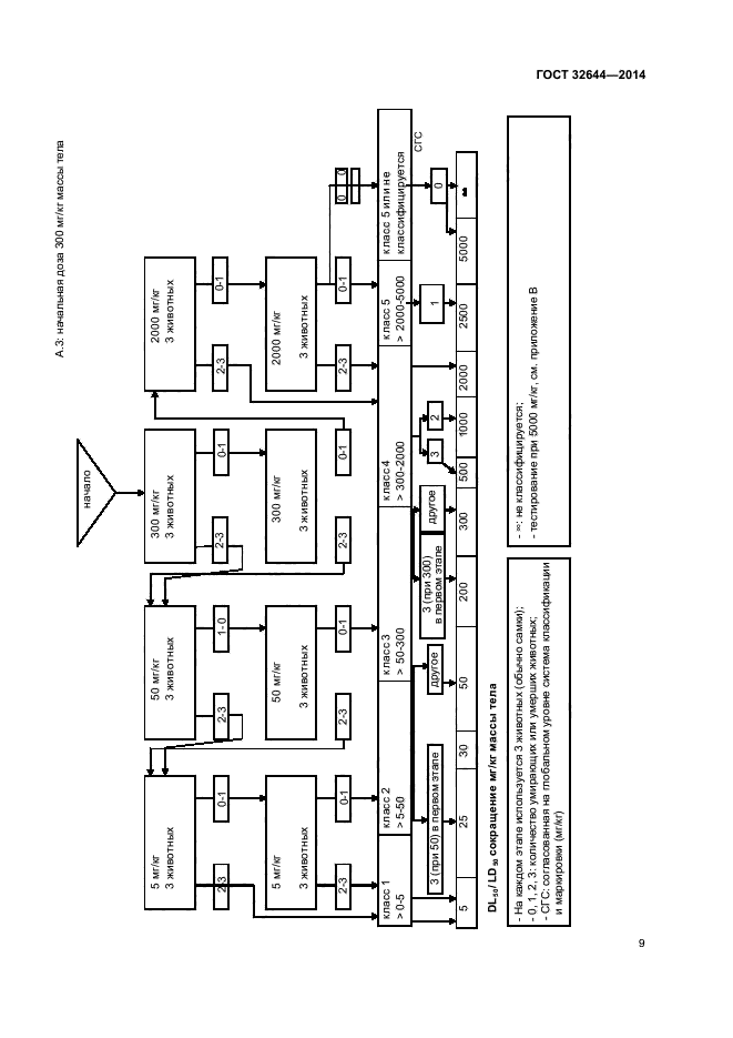
| Название рус.: | Методы испытания по воздействию химической продукции на организм человека. Острая пероральная токсичность - метод определения класса острой токсичности | | Дата актуализации текста: | 01.01.2021 | | Дата актуализации описания: | 01.01.2021 | | Дата регистрации: | 28.03.2014 | | Дата издания: | 25.10.2019 | | Дата введения: | 01.06.2015 | | Аутентичен стандартам: | OECD Test № 423:2001 | | Область применения: | Метод острой токсичности, изложенный в данном руководстве - это поэтапная процедура с использованием 3-х животных одного пола на каждом этапе. В зависимости от смертности и /или предсмертного состояния животных для того, чтобы сделать заключение об острой токсичности исследуемого вещества, в среднем необходимо 2-4 этапа. Эта процедура воспроизводима, использует очень небольшое количество животных и дает возможность оценить вещества таким же образом, что и другие методы тестирования острой токсичности (Руководства по тестированию 420 и 425) | |
              
|