| Обозначение: |  ГОСТ Р 56205-2014 |
| Статус: | действующий |
| Название рус.: | Сети коммуникационные промышленные. Защищенность (кибербезопасность) сети и системы. Часть 1-1. Терминология, концептуальные положения и модели |
| Дата актуализации текста: | 01.01.2021 |
| Дата актуализации описания: | 01.01.2021 |
| Дата издания: | 06.04.2020 |
| Дата введения: | 01.01.2016 |
| Аутентичен стандартам: | IEC/TS 62443-1-1(2009) |
| Нормативные ссылки: | ISO/IEC 15408-1;IEC 62264-1 |
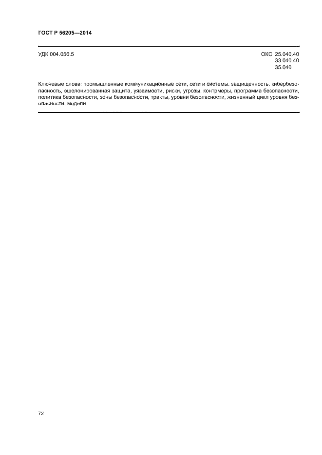
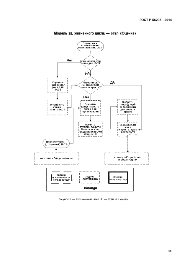
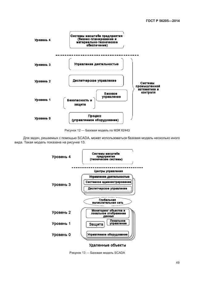
| Область применения: | Настоящий стандарт устанавливает терминологию, определяет концептуальные положения и модели применительно к безопасности систем промышленной автоматики и контроля и является основой для остальных стандартов серии МЭК 62443. Чтобы четко сформулировать наименования всех систем и компонентов, рассматриваемых в стандартах серии МЭК 62443, область применения может быть определена и представлена на основе нескольких аспектов, в числе которых: а) диапазон включенной функциональности; b) специальные системы и интерфейсы; с) критерии отбора включенных действий; d) критерии отбора включенных имущественных объектов |
| Список изменений: | №0 от 03.05.2016 (рег. 03.05.2016) «Дата введения перенесена» |
| Приложение №1: | Поправка к ГОСТ Р 56205-2014 |
|