| Обозначение: |  ГОСТ 30630.1.10-2013 |
| Статус: | действующий |
| Название рус.: | Методы испытаний на стойкость к механическим внешним воздействующим факторам машин, приборов и других технических изделий. Удары по оболочке изделия |
| Дата актуализации текста: | 01.01.2021 |
| Дата актуализации описания: | 01.07.2023 |
| Дата регистрации: | 14.11.2013 |
| Дата издания: | 02.06.2015 |
| Дата введения: | 01.01.2015 |
| Код ОКП: | 310000-520000;600000-800000;940000 |
| Содержит требования: | IEC 60068-2-75(1997) |
| Нормативные ссылки: | ГОСТ 380-2005; ГОСТ 9013-59; ГОСТ 11472-69; ГОСТ 15150-69; ГОСТ 24622-91; ГОСТ 26883-86; ГОСТ 30630.0.0-99 |
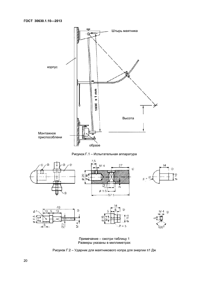
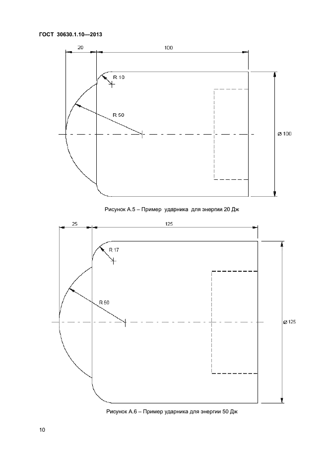
| Область применения: | Настоящий стандарт распространяется на машины, приборы и другие технические изделия всех видов (далее - изделия), которым предъявлено требование по воздействию ударов посторонних предметов с энергией до 50 Дж и устанавливает методы их соответствующих испытаний. Стандарт применяют совместно с ГОСТ 30630.0.0 |
|