Скачать ГОСТ Р 56001-2014 Арматура трубопроводная для объектов газовой промышленности. Общие технические условияДата актуализации: 01.06.2025 ГОСТ Р 56001-2014
Арматура трубопроводная для объектов газовой промышленности. Общие технические условия
| Обозначение: |  ГОСТ Р 56001-2014 |
| Статус: | действующий |
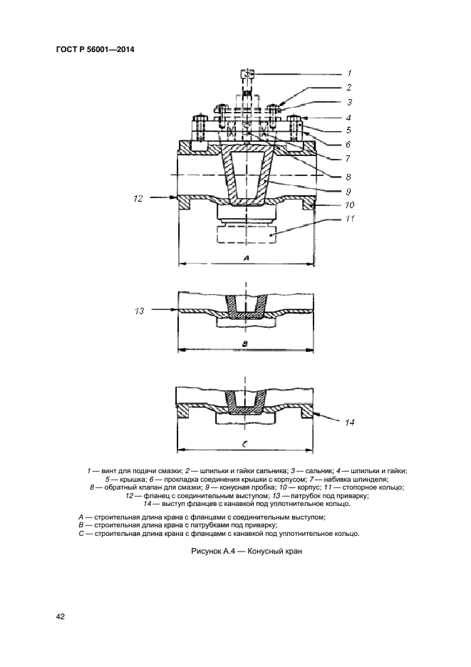
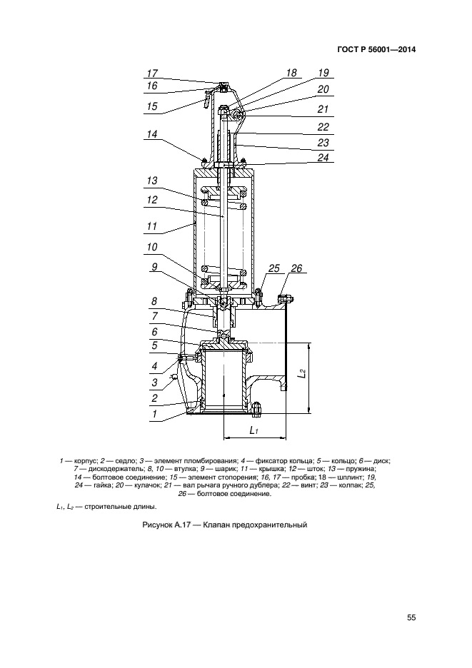
| Название рус.: | Арматура трубопроводная для объектов газовой промышленности. Общие технические условия | | Дата актуализации текста: | 01.01.2021 | | Дата актуализации описания: | 01.07.2023 | | Дата издания: | 01.12.2014 | | Дата введения: | 01.02.2015 | | Код ОКП: | 370000 | | Нормативные ссылки: | ISO 14313:2007; ГОСТ Р 15.201-2000; ГОСТ Р ИСО 3183-2009; ГОСТ Р 50753-95; ГОСТ Р 51164-98; ГОСТ Р 51330.0-99; ГОСТ Р 51901.12-2007; ГОСТ Р 52079-2003; ГОСТ Р 52568-2006; ГОСТ Р 52760-2007; ГОСТ Р 52857.1-2007; ГОСТ Р 52857.2-2007; ГОСТ Р 52857.3-2007; ГОСТ Р 52857.4-2007; ГОСТ Р 52857.5-2007; ГОСТ Р 52857.6-2007; ГОСТ Р 53402-2009; ГОСТ Р 53671-2009; ГОСТ Р 53672-2009; ГОСТ Р 53674-2009; ГОСТ Р 54432-2011; ГОСТ Р 54808-2011; ГОСТ Р 55509-2013; ГОСТ Р 55510-2013; ГОСТ Р 55511-2013; ГОСТ 2.601-2006; ГОСТ 2.610-2006; ГОСТ 9.014-78; ГОСТ 12.1.005-88; ГОСТ 12.1.007-76; ГОСТ 12.2.085-2002; ГОСТ 12.3.009-76; ГОСТ 15.309-98; ГОСТ 15.311-90; ГОСТ 27.310-95; ГОСТ 263-75; ГОСТ 356-80; ГОСТ 1778-70; ГОСТ 2789-73; ГОСТ 3326-86; ГОСТ 3706-93; ГОСТ 5639-82; ГОСТ 5761-2005; ГОСТ 5762-2002; ГОСТ 6996-66; ГОСТ 7192-89; ГОСТ 8479-70; ГОСТ 8908-81; ГОСТ 9150-2002; ГОСТ 9399-81; ГОСТ 9454-78; ГОСТ 9466-75; ГОСТ 10051-75; ГОСТ 10549-80; ГОСТ 10877-76; ГОСТ 11881-76; ГОСТ 12678-80; ГОСТ 12893-2005; ГОСТ 12971-67; ГОСТ 14187-84; ГОСТ 14192-96; ГОСТ 14254-96; ГОСТ 15150-69; ГОСТ 16037-80; ГОСТ 16118-70; ГОСТ 16587-71; ГОСТ 17516.1-90; ГОСТ 20700-75; ГОСТ 21345-2005; ГОСТ 24297-87; ГОСТ 24643-81; ГОСТ 24705-2004; ГОСТ 24737-81; ГОСТ 26304-84; ГОСТ 28338-89; ГОСТ 28908-91; ГОСТ 30546.1-98; ГОСТ 30893.1-2002; ГОСТ 30893.2-2002; ГОСТ 31294-2005;API Std 598:2009 | | Область применения: | Настоящий стандарт распространяется на трубопроводную арматуру с номинальными диаметрами до DN 1400 на номинальные давления до PN 400, применяемую на объектах добычи, подземного хранения, переработки, транспортировки, распределения и потребления газа, и устанавливает общие технические требования к запорной, регулирующей, предохранительной и обратной трубопроводной арматуре при ее проектировании, изготовлении, приемке, испытаниях, транспортировке, монтаже, эксплуатации, ремонте, хранении и утилизации. Настоящий стандарт не распространяется на устьевую (фонтанную) арматуру, арматуру конденсатопроводов, на трубопроводную арматуру для рабочей среды с содержанием сероводорода (Н2S) более 7 мг/м3, а также арматуру морских газопроводов и газопроводов, предназначенных для транспортировки сжиженных газов. Настоящий стандарт может быть использован для подтверждения соответствия | |
                                                                         
|