| Обозначение: |  ГОСТ 32654-2014 |
| Статус: | действующий |
| Название рус.: | Композиты полимерные. Термореактивные препреги и премиксы. Определение характеристик отверждения |
| Дата актуализации текста: | 01.01.2021 |
| Дата актуализации описания: | 01.07.2023 |
| Дата регистрации: | 28.03.2014 |
| Дата издания: | 01.11.2014 |
| Дата введения: | 01.09.2015 |
| Содержит требования: | ISO 12114:1997 |
| Нормативные ссылки: | ГОСТ 32794-2014; ГОСТ 12423-2013 |
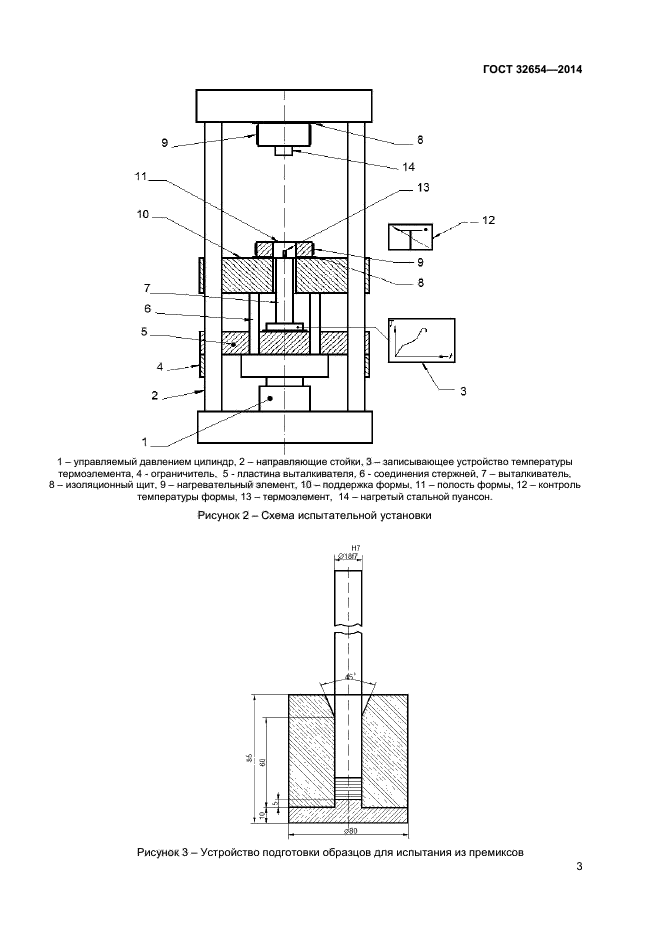
| Область применения: | Настоящий стандарт распространяется на термореактивные препреги и премиксы и устанавливает методы определения следующих характеристик отверждения: - реакционная способность; - время отверждения; - тепловое расширение; - реакционная усадка; - результирующее изменение объема. Установлены два метода определения: I и II. Метод I применяют для определения реакционной способности препрегов и премиксов. Метод II применяют для определения времени отверждения, теплового расширения, реакционной усадки и результирующего изменения объема препрегов и премиксов |
|