Скачать ГОСТ 32388-2013 Трубопроводы технологические. Нормы и методы расчета на прочность, вибрацию и сейсмические воздействияДата актуализации: 01.06.2025 ГОСТ 32388-2013
Трубопроводы технологические. Нормы и методы расчета на прочность, вибрацию и сейсмические воздействия
| Обозначение: |  ГОСТ 32388-2013 |
| Статус: | действующий |
| Название рус.: | Трубопроводы технологические. Нормы и методы расчета на прочность, вибрацию и сейсмические воздействия | | Дата актуализации текста: | 01.06.2022 | | Дата актуализации описания: | 01.07.2023 | | Дата регистрации: | 18.12.2013 | | Дата издания: | 02.11.2016 | | Дата введения: | 01.08.2014 | | Нормативные ссылки: | ГОСТ 12.1.007-76; ГОСТ 12.1.044-89; ГОСТ 25.101-83; ГОСТ 30546.1-98;СНиП II-7-81 | | Область применения: | Настоящий стандарт распространяется на трубопроводы технологические, работающие под внутренним давлением, вакуумом или наружным давлением, из углеродистых и легированных сталей, цветных металлов (алюминия, меди, титана и их сплавов) с рабочей температурой от минус 269 °С до плюс 700 °С при отношении толщины стенки к наружному диаметру | | Приложение №1: | Поправка к ГОСТ 32388-2013 | |
                                                                                                                   
Поправка к ГОСТ 32388-2013
| Обозначение: | Поправка к ГОСТ 32388-2013 |
| Дата введения: | 25.01.2022 |
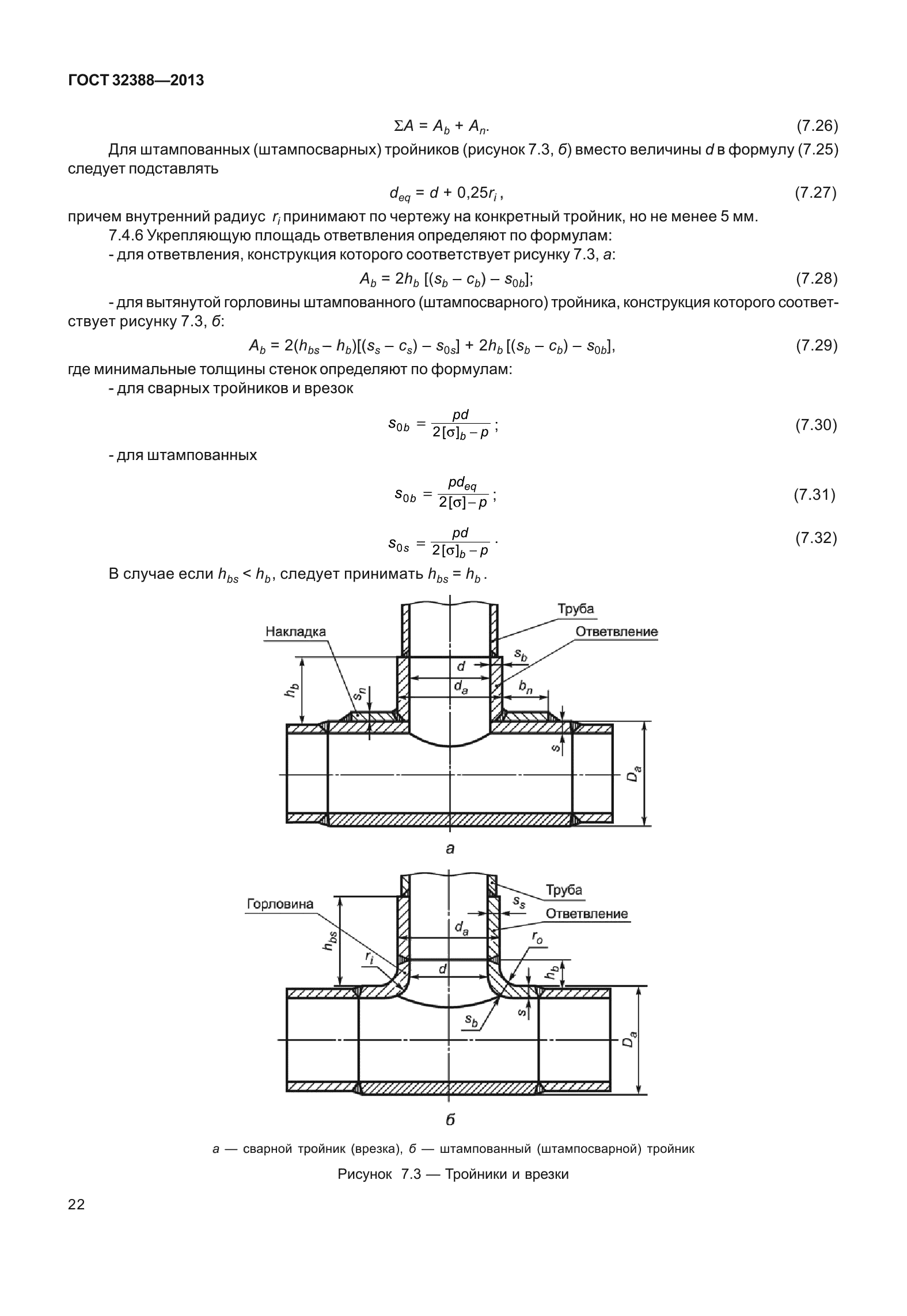
|