| Обозначение: |  ГОСТ 28042-2013 |
| Статус: | действующий |
| Название рус.: | Плиты покрытий железобетонные для зданий и сооружений. Технические условия |
| Дата актуализации текста: | 01.01.2026 |
| Дата актуализации описания: | 01.01.2025 |
| Дата регистрации: | 14.11.2013 |
| Дата издания: | 01.09.2014 |
| Дата введения: | 01.01.2015 |
| Взамен: | ГОСТ 28042-89 |
| Нормативные ссылки: | ГОСТ 535; ГОСТ 7473; ГОСТ 8829; ГОСТ 10060; ГОСТ 10180; ГОСТ 10181; ГОСТ 10922; ГОСТ 12730.0; ГОСТ 12730.1; ГОСТ 12730.5; ГОСТ 13015; ГОСТ 14098; ГОСТ 23009; ГОСТ 23279; ГОСТ 24297; ГОСТ 31384; ГОСТ 16504; ГОСТ 17623; ГОСТ 17624; ГОСТ 17625; ГОСТ 18105; ГОСТ 22362; ГОСТ 22690; ГОСТ 22904; ГОСТ 23858; ГОСТ 25820; ГОСТ 26134; ГОСТ 26633; ГОСТ 32499 |
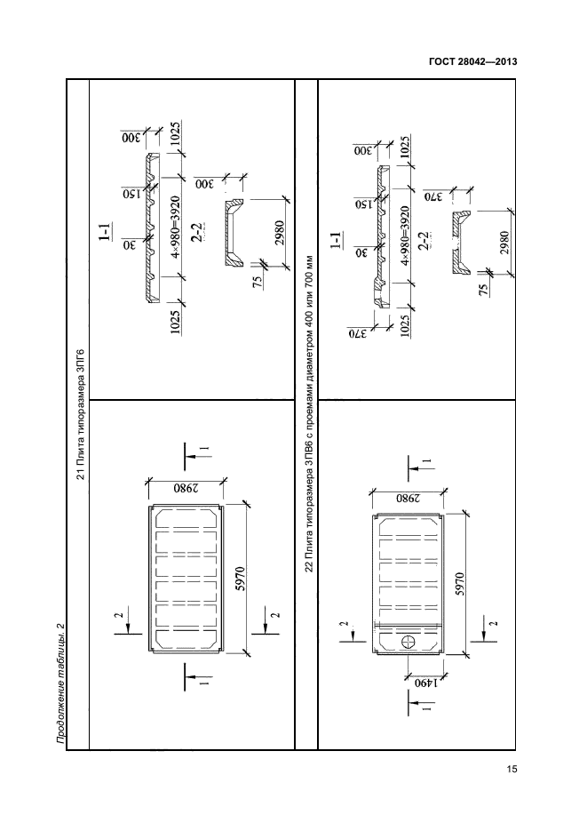
| Область применения: | Настоящий стандарт устанавливает технические требования, методы контроля и правила приемки, транспортирования и хранения железобетонных ребристых и плоских плит из тяжелого или конструкционного легкого бетона. Плиты применяют в покрытиях зданий предприятий всех отраслей промышленности и народного хозяйства, за исключением жилых и общественных зданий |
| Список изменений: | №0 от 03.05.2016 (рег. 03.05.2016) «Дата введения перенесена» |
| Приложение №1: | Изменение №1 к ГОСТ 28042-2013 |
| Приложение №2: | Поправка к ГОСТ 28042-2013 |
|