Скачать ГОСТ 31442-2011 Оборудование группы 1, уровень взрывозащиты Ма, для применения в среде, опасной по воспламенению рудничного газа и/или угольной пылиДата актуализации: 01.06.2025 ГОСТ 31442-2011
Оборудование группы 1, уровень взрывозащиты Ма, для применения в среде, опасной по воспламенению рудничного газа и/или угольной пыли
| Обозначение: |  ГОСТ 31442-2011 |
| Статус: | действующий |
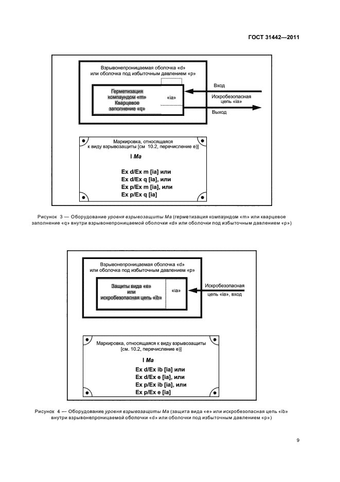
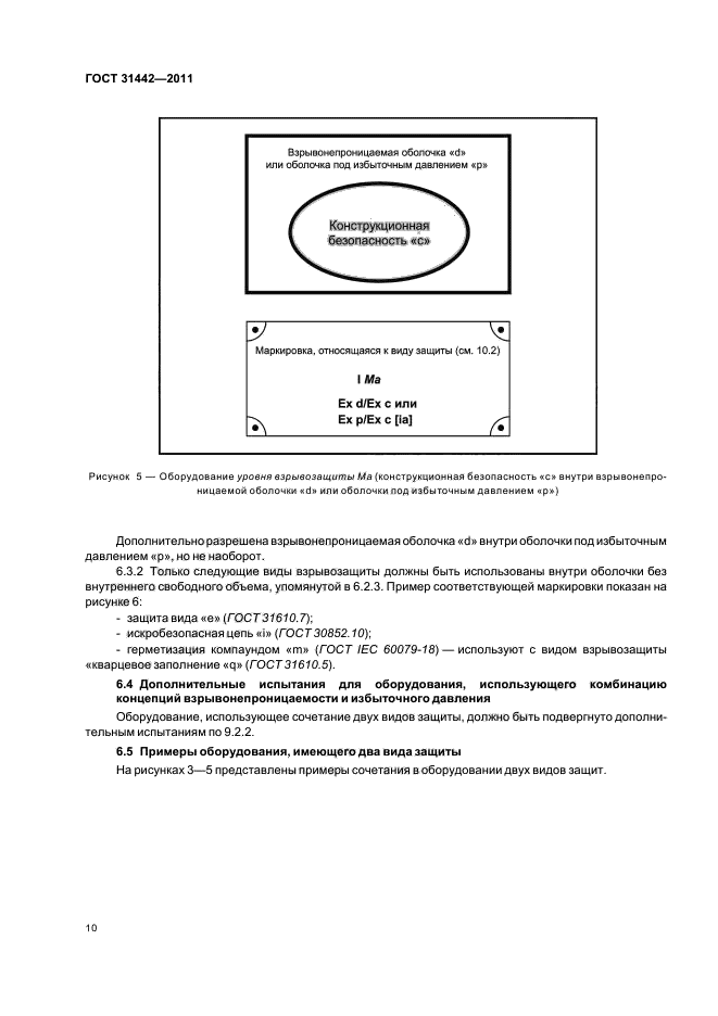
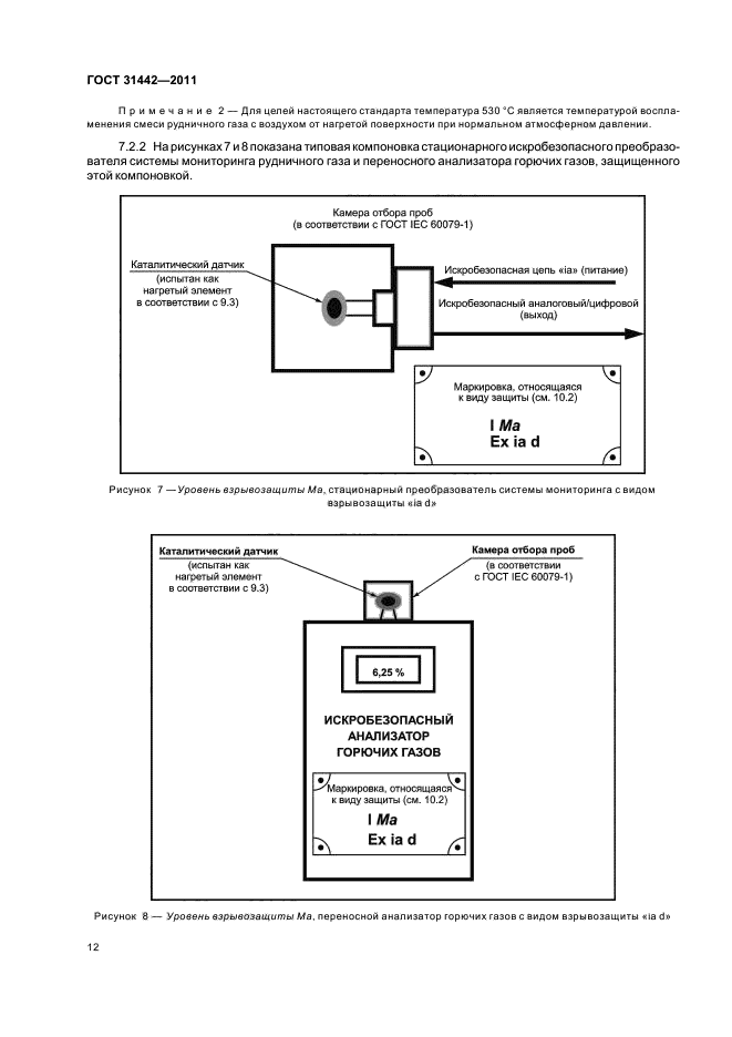
| Название рус.: | Оборудование группы 1, уровень взрывозащиты Ма, для применения в среде, опасной по воспламенению рудничного газа и/или угольной пыли | | Название англ.: | Group I, equipment protection level Ma intended to remain functional in atmosphere endangered by firedamp and/or coal dust | | Дата актуализации текста: | 01.01.2021 | | Дата актуализации описания: | 01.07.2023 | | Дата регистрации: | 29.11.2011 | | Дата издания: | 05.12.2013 | | Дата введения: | 15.02.2013 | | Содержит требования: | EN 50303:2000 | | Нормативные ссылки: | ГОСТ Р 52350.11-2005; ГОСТ 14254-96; ГОСТ 31441.1-2011; ГОСТ 31441.5-2011; ГОСТ 31610.0-2012; ГОСТ 31610.5-2012; ГОСТ 31610.7-2012;ГОСТ IEC 60079-1-2011;ГОСТ IEC 60079-2-2011;ГОСТ IEC 60079-18-2011 | | Область применения: | Настоящий стандарт устанавливает требования к конструкции, испытаниям и маркировке оборудования группы I, уровень взрывозащиты Ма, предназначенного для применения в подземных выработках и наземных сооружениях шахт, опасных по воспламенению рудничного газа и/или угольной пыли при нормальных атмосферных условиях (давление от 0,8 до 1,1 бар; температура от минус 20 °С до плюс 60 °С). Настоящий стандарт применим ко всему электрическому и неэлектрическому оборудованию, способному инициировать взрыв через его собственные потенциальные источники воспламенения. Настоящий стандарт также применим к кабелям, в том числе и оптоволоконным, в случае, если они используются для подвода питающего напряжения и являются частью оборудования, предназначенного для эксплуатации в среде, опасной по воспламенению рудничного газа и/или угольной пыли. Настоящий стандарт не применяется к шахтным головным светильникам уровня взрывозащиты Ма | | Приложение №1: | Поправка к ГОСТ 31442-2011 | |
                    
Поправка к ГОСТ 31442-2011
| Обозначение: | Поправка к ГОСТ 31442-2011 |
| Дата введения: | 19.06.2019 |
|