Скачать ГОСТ Р 55897-2013 Сети подвижной радиосвязи. Зоны обслуживания. Методы расчетаДата актуализации: 01.06.2025 ГОСТ Р 55897-2013
Сети подвижной радиосвязи. Зоны обслуживания. Методы расчета
| Обозначение: |  ГОСТ Р 55897-2013 |
| Статус: | действующий |
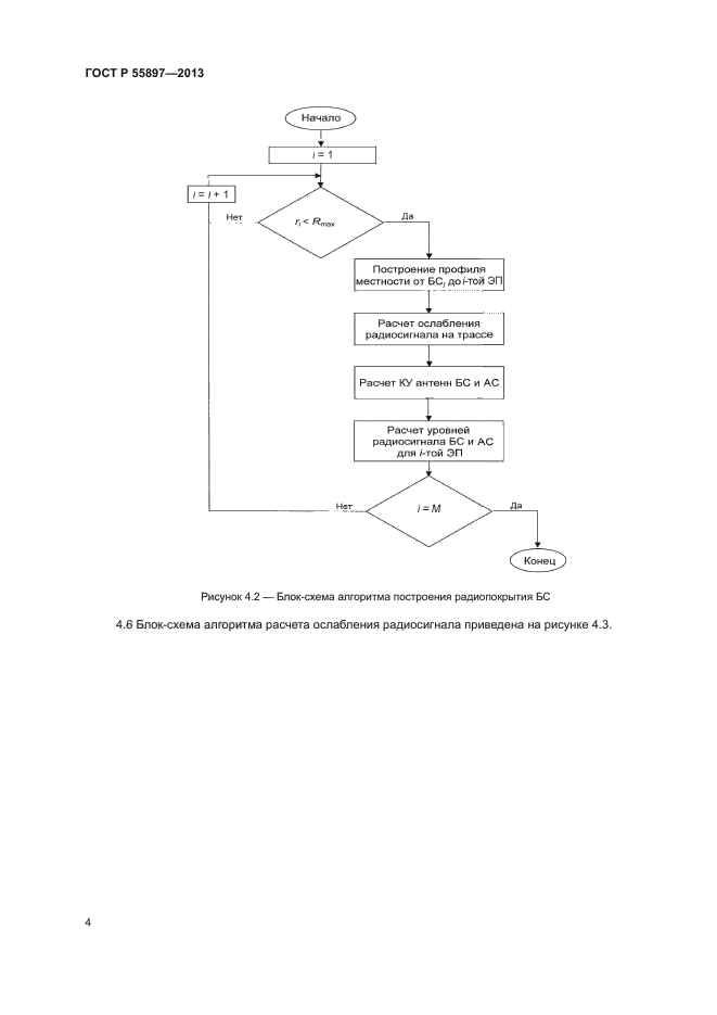
| Название рус.: | Сети подвижной радиосвязи. Зоны обслуживания. Методы расчета | | Дата актуализации текста: | 01.01.2021 | | Дата актуализации описания: | 01.07.2023 | | Дата издания: | 14.04.2020 | | Дата введения: | 01.07.2014 | | Нормативные ссылки: | ГОСТ 12252 ; ГОСТ 24375 ; ГОСТ Р 53363 | | Область применения: | Настоящий стандарт распространяется на беспроводные сети подвижной и фиксированной связи (cети СПС и радиодоступа), работающие в полосах частот от 30 МГц до 10 ГГц. Стандарт устанавливает методы расчета и построения территориальных зон, в которых абонентская станция сети может быть обслужена базовой станцией сети. Методы расчета, установленные в настоящем стандарте, применяют на стадиях проектирования сетей подвижной радиосвязи. Методы расчета основаны на применении рекомендаций МСЭ и учитывают топографические, климатические особенности территории, условия распространения радиоволн, технические характеристики оборудования | |
              
|