| Обозначение: |  ГОСТ Р 55234.3-2013 |
| Статус: | действующий |
| Название рус.: | Процедуры проверки и технического обслуживания оборудования на основе риска. Разработка ГОСТ Р. |
| Дата актуализации текста: | 06.04.2015 |
| Дата актуализации описания: | 01.07.2023 |
| Дата издания: | 01.09.2014 |
| Дата введения: | 01.12.2014 |
| Нормативные ссылки: | ГОСТ Р ИСО/МЭК 17020-2012; ГОСТ Р ИСО/МЭК 17025-2009; ГОСТ Р 51901.12-2007; ГОСТ Р 51897-2011 |
| Область применения: | Настоящий стандарт устанавливает основные положения и структуру процедуры контроля технического состояния и технического обслуживания производственного оборудования на основе оценки риска (RBIM) и процедуры управления сроком службы на основе оценки риска (RBLM), предназначенные для промышленных предприятий |
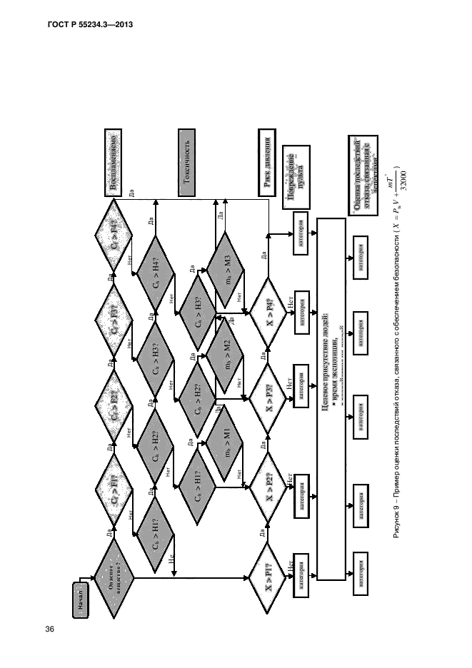
|